LEMON Manuals: Even more car manuals for everyone: 1960-2025
Home >> Subaru >> 2016 >> WRX Base >> Repair and Diagnosis >> Transmission >> Transmission Control Systems >> Select Cable >> Adjustment
April 5, 2026: LEMON Manuals is launched! Read the announcement.

Select Cable: Adjustment

  1. Shift the select lever to "N" range.
  2. Lift up the vehicle.
  3. Remove the center exhaust pipe (rear). < Ref. to REMOVAL , Center Exhaust Pipe. >
  4. Remove the center exhaust cover.
    Fig 1: Identifying Center Exhaust Cover
    G09481945Courtesy of SUBARU OF AMERICA, INC.
  5. Loosen the adjusting nuts on both sides.
    Fig 2: Identifying Adjusting Nuts
    G10292903Courtesy of SUBARU OF AMERICA, INC.
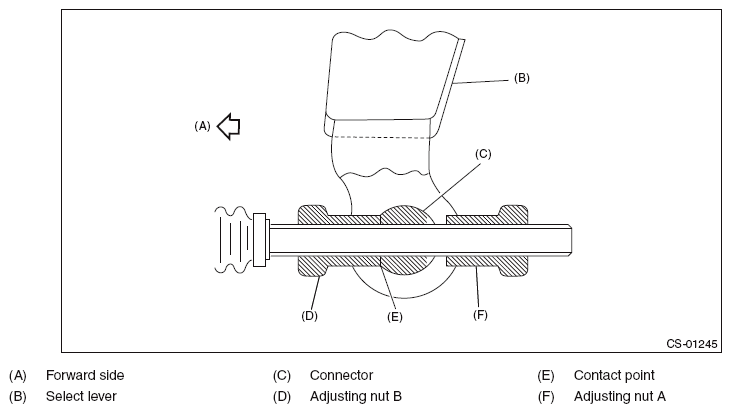
  6. Turn adjusting nut B until it lightly touches the connector.
    Fig 3: Identifying Connector, Contact Point, Select Lever And Adjusting Nuts
    G10292904Courtesy of SUBARU OF AMERICA, INC.
  7. Set a spanner wrench to adjusting nut B so that it does not rotate, and then tighten the adjusting nut A.

    Tightening torque: 

    7.5 N.m (0.76 kgf-m, 5.5 ft-lb) 

    Fig 4: Setting Spanner Wrench To Adjusting Nut B
    G10292905Courtesy of SUBARU OF AMERICA, INC.
  8. After the completion of adjustment, confirm that the select lever operates normally at all ranges.
  9. Installing procedure hereafter is in the reverse order of removal.