LEMON Manuals: Even more car manuals for everyone: 1960-2025
Home >> Subaru >> 2016 >> WRX STI >> Repair and Diagnosis >> Engine Performance >> Engine Control Systems >> Fuel Injection System (WRX-STI) >> General Description >> Components With Torque Specifications >> Air Intake System
April 5, 2026: LEMON Manuals is launched! Read the announcement.

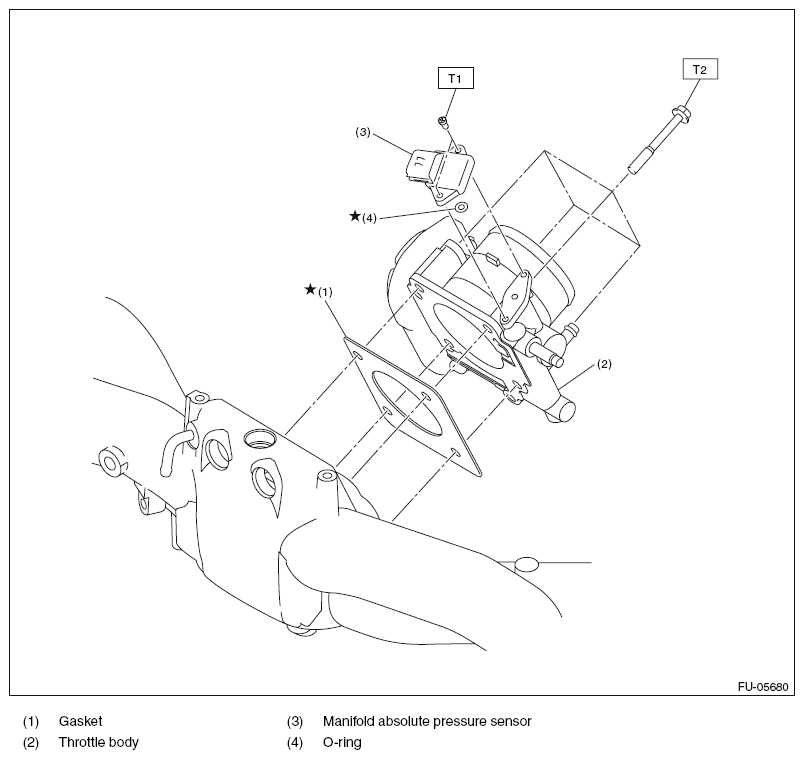
Air Intake System

Fig 1: Exploded View Of Air Intake System With Torque Specifications
G10289709Courtesy of SUBARU OF AMERICA, INC.

Tightening torque: N.m (kgf-m, ft-lb) 

T1: 2 (0.2, 1.5) 

T2: 8 (0.8, 5.9)