LEMON Manuals: Even more car manuals for everyone: 1960-2025
Home >> Subaru >> 2017 >> Forester 2.0XT Touring >> Repair and Diagnosis >> Engine Performance >> Engine Control Systems >> Fuel Injection System (H4DOTC) >> Engine Control Module (ECM) >> Installation
April 5, 2026: LEMON Manuals is launched! Read the announcement.

Engine Control Module (ECM): Installation

Install in the reverse order of removal.

CAUTION:
  • When the ECM of model with immobilizer has been replaced, be sure to perform the registration of immobilizer system.
    • For model without keyless access with push button start, refer to the Type B in "REGISTRATION MANUAL FOR IMMOBILIZER" contact an authorized Subaru Dealership.
    • For model with keyless access with push button start, refer to the Type D in "REGISTRATION MANUAL FOR IMMOBILIZER" contact an authorized Subaru Dealership.
  • When the ECM has been replaced, be sure to perform the registration of VIN. Refer to OPERATION .
NOTE: When replacing the ECM, be careful not to use the ECM of wrong specification to avoid any damage on the fuel injection system.

Tightening torque: 

33 N.m (3.4 kg-fm, 24.3 ft-lb)

Fig 1: Locating ECM Bracket Bolt
G09479786Courtesy of SUBARU OF AMERICA, INC.

Tightening torque: 

7.5 N.m (0.8 kg-fm, 5.5 ft-lb)

Fig 2: Locating ECM Bracket Nuts
G09479787Courtesy of SUBARU OF AMERICA, INC.
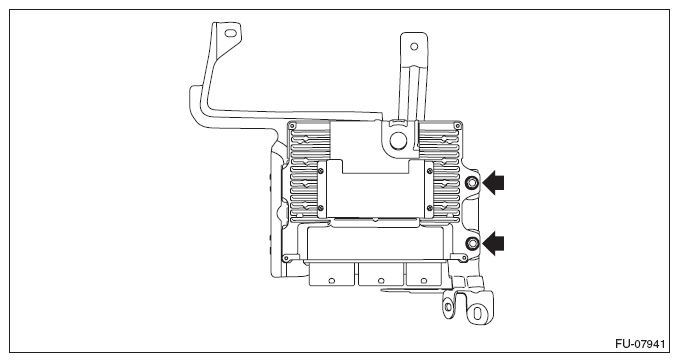
Fig 3: Locating ECM Cover Bolts
G09479788Courtesy of SUBARU OF AMERICA, INC.