LEMON Manuals: Even more car manuals for everyone: 1960-2025
Home >> Subaru >> 2017 >> Forester 2.0XT Touring >> Repair and Diagnosis >> Engine Performance >> Engine Control Systems >> Fuel Injection System (H4DOTC) >> Fuel Sub Level Sensor >> Installation
April 5, 2026: LEMON Manuals is launched! Read the announcement.

Fuel Sub Level Sensor: Installation

  1. Install the fuel sub level sensor to the fuel tank.
    1. Make sure the sealing portion is free from fuel or foreign matter before installation.
    2. Align the cutout (B) as shown in the figure, and install the fuel sub level sensor upper plate cushion to the fuel sub level sensor upper plate.
    3. Align the cutout of the fuel sub level sensor upper plate with the protrusion (B) of the fuel sub level sensor as shown in the figure, and install the fuel sub level sensor upper plate from the upper side of the fuel sub level sensor.
    4. Install the gasket from the lower side of the fuel sub level sensor so that the protrusion (B) of the fuel sub level sensor and the protrusion (A) of the gasket are positioned as shown in the figure.
      NOTE: Use a new gasket.
    5. Install the fuel sub level sensor to the fuel tank in the direction shown in the figure, and tighten the nuts to the specified torque in the order as shown in the figure.
      CAUTION: Set the arm and float of the fuel sub level sensor while paying attention to prevent them from contacting the fuel tank. If the arm of the fuel sub level sensor is bent, the fuel gauge may not read correctly.

      Tightening torque: 

      4.4 N.m (0.4 kg-fm, 3.2 ft-lb)

    Fig 1: Fuel Sub Level Sensor Nuts Tightening Sequence
    G11265121Courtesy of SUBARU OF AMERICA, INC.
  2. Install the fuel sub level sensor protector, and install the rubber cap (A).

    Tightening torque: 

    4.4 N.m (0.4 kg-fm, 3.2 ft-lb)

    Fig 2: Locating Fuel Sub Level Sensor Protector Bolts
    G08315557Courtesy of SUBARU OF AMERICA, INC.
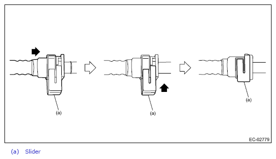
  3. Connect the quick connector of the jet pump tube.
    CAUTION:
    • Check that there is no damage or dust on the quick connector. If necessary, clean the seal surface of the pipe.
    • When connecting the quick connector, make sure to insert it all the way in before locking the slider.
    • When it is difficult to lock the slider, check that the connector is fully inserted.
    • After locking the slider, check that the quick connector is securely connected.
    NOTE: Connect the quick connector as shown in the figure.
    Fig 3: Connecting Quick Connector Of Jet Pump Tube
    G11265123Courtesy of SUBARU OF AMERICA, INC.
    Fig 4: Locating Jet Pump Tube Quick Connector
    G08315556Courtesy of SUBARU OF AMERICA, INC.
  4. Connect the connector to the fuel sub level sensor.
    Fig 5: Locating Fuel Sub Level Sensor Connector
    G08315488Courtesy of SUBARU OF AMERICA, INC.
  5. Install the service hole cover of fuel sub level sensor.
    Fig 6: Locating Service Hole Cover Screws
    G08315487Courtesy of SUBARU OF AMERICA, INC.
  6. Install the rear seat cushion. Ref. to SEATS>Rear Seat>INSTALLATION .
  7. Connect the battery ground terminal.