LEMON Manuals: Even more car manuals for everyone: 1960-2025
Home >> Subaru >> 2018 >> Forester 2.0XT Touring >> Repair and Diagnosis >> Engine Performance >> Engine Control Systems >> Engine Control/Fuel Injection System (H4DOTC) >> Engine Control Module (ECM) >> Installation
April 5, 2026: LEMON Manuals is launched! Read the announcement.

Engine Control Module (ECM): Installation

Install in the reverse order of removal.

CAUTION:
  • When the ECM of model with immobilizer has been replaced, be sure to perform the registration of immobilizer system.
    • For model without keyless access with push button start, refer to the Type B in "REGISTRATION MANUAL FOR IMMOBILIZER".
    • For model with keyless access with push button start, refer to the Type D in "REGISTRATION MANUAL FOR IMMOBILIZER".
  • When the ECM has been replaced, be sure to perform the registration of VIN. Refer to OPERATION .
NOTE: When replacing the ECM, be careful not to use the ECM of wrong specification to avoid any damage on the fuel injection system.

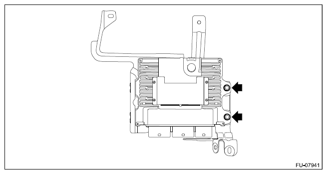
Tightening torque: 

33 N.m (3.4 kgf-m, 24.3 ft-lb)

G12509036Courtesy of SUBARU OF AMERICA, INC.

Tightening torque: 

7.5 N.m (0.8 kgf-m, 5. ft-lb)

G12509037Courtesy of SUBARU OF AMERICA, INC.
G12509038Courtesy of SUBARU OF AMERICA, INC.