LEMON Manuals: Even more car manuals for everyone: 1960-2025
Home >> Subaru >> 2018 >> Forester 2.0XT Touring >> Repair and Diagnosis >> Engine Performance >> Engine Control Systems >> Engine Control/Fuel Injection System (H4DOTC) >> Fuel Pressure Sensor >> Installation
April 5, 2026: LEMON Manuals is launched! Read the announcement.

Fuel Pressure Sensor: Installation

  1. Replace the injector seal, backup ring and O-ring with a new part. Ref. to FUEL INJECTION (FUEL SYSTEMS) (H4DOTC)>Fuel Injector>REPLACEMENT .
  2. Set the spacer, holder, rubber cover and snap ring to the fuel injector, and install it to the fuel injector pipe RH.
    CAUTION: Always use new spacers, holders, rubber covers and snap rings.
    G12508943Courtesy of SUBARU OF AMERICA, INC.
  3. Set the fuel injectors to the fuel injector pipe RH.
    CAUTION:
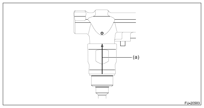
    • Align the rubber cover with the fuel injector pipe RH •.
    • Check that the rubber cover parting line (a) is set straight.
      G12508944Courtesy of SUBARU OF AMERICA, INC.
    • The end surface of the fuel injector pipe RH must be fit in the rubber cover.
    • There should be no gap in the snap ring and rubber cover.
      G12508945Courtesy of SUBARU OF AMERICA, INC.
  4. Install the fuel injector pipe RH and fuel injector as a single unit to the cylinder head.
  5. Tighten the fuel injector pipe RH.

    Tightening torque: 

    19 N.m (1.9 kgf-m, 14.0 ft-lb)

    G12508946Courtesy of SUBARU OF AMERICA, INC.
  6. Temporarily tighten the fuel pressure sensor to the fuel injector pipe RH until it cannot be turned by hand.
    CAUTION: Always use a new fuel pressure sensor.
  7. Tighten the fuel pressure sensor.
    CAUTION:
    • Be careful not to spill oil on the screw sections of the fuel pressure sensor and the fuel injector pipe RH.
    • Be careful not to let foreign matter enter into the fuel pressure sensor during installation.
    • Do not recheck the tightening torque after tightening the fuel pressure sensor with specified torque.

    Tightening torque: 

    46 N.m (4.7 kgf-m, 33.9 ft-lb)

    G12508947Courtesy of SUBARU OF AMERICA, INC.
  8. Install the high-pressure fuel delivery pipe assembly. Ref. to FUEL INJECTION (FUEL SYSTEMS) (H4DOTC)>High Pressure Fuel Delivery Pipe>INSTALLATION>HIGH-PRESSURE FUEL DELIVERY PIPE ASSEMBLY .
  9. Connect the battery ground terminal.