LEMON Manuals: Even more car manuals for everyone: 1960-2025
Home >> Subaru >> 2018 >> Outback 2.5i >> Repair and Diagnosis >> Engine Performance >> Engine Control Systems >> Engine Control/Fuel System (H4DO) >> Knock Sensor >> Inspection
April 5, 2026: LEMON Manuals is launched! Read the announcement.

Knock Sensor: Inspection

  1. Check that the knock sensor has no deformation, cracks or other damages.
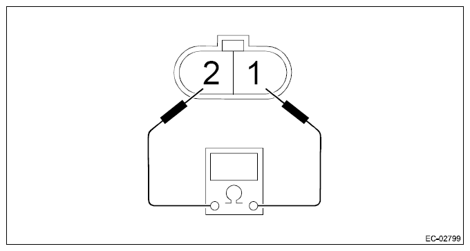
  2. Measure the resistance between knock sensor terminals.
    G12403304Courtesy of SUBARU OF AMERICA, INC.
    Terminal No. Standard
    1 and 2 560±28 kΩ