LEMON Manuals: Even more car manuals for everyone: 1960-2025
Home >> Subaru >> 2019 >> WRX Base >> Repair and Diagnosis >> Engine Performance >> Engine Control Systems >> Fuel Injection System (Except For STI) >> Fuel Tank >> Installation
April 5, 2026: LEMON Manuals is launched! Read the announcement.

Fuel Tank: Installation

  1. Support the fuel tank with a transmission jack, set the fuel tank in place, and temporarily tighten the bolts of the fuel tank band.
    WARNING: A helper is required to perform this work.
    G10264912Courtesy of SUBARU OF AMERICA, INC.
  2. Tighten the bolts of the fuel tank band in the order shown in the figure.

    Tightening torque: 

    33 N.m (3.4 kgf-m, 24.3 ft-lb)

    G10264914Courtesy of SUBARU OF AMERICA, INC.
  3. Install the heat shield cover and stopper.

    Tightening torque: 

    18 N.m (1.8 kgf-m, 13.3 ft-lb)

    G10264911Courtesy of SUBARU OF AMERICA, INC.
  4. Install the fuel tank protector. Refer to FUEL INJECTION (FUEL SYSTEMS) (EXCEPT FOR STI)>FUEL TANK PROTECTOR>INSTALLATION .
  5. Connect the vent tube to the vent hose.
    G09487206Courtesy of SUBARU OF AMERICA, INC.
  6. Securely insert the fuel filler hose (A) and evaporation hose (B) until the hose end contacts the spool, then attach the clamp or clip as shown in the figure.

    Tightening torque: 

    2.5 N.m (0.3 kgf-m, 1.8 ft-lb)

    G10264909Courtesy of SUBARU OF AMERICA, INC.
    G13258565Courtesy of SUBARU OF AMERICA, INC.
  7. Install the rear differential. Refer to DIFFERENTIALS>REAR DIFFERENTIAL (T-TYPE)>INSTALLATION .
  8. Install the rear exhaust pipe. Refer to EXHAUST (EXCEPT FOR STI)>REAR EXHAUST PIPE>INSTALLATION .
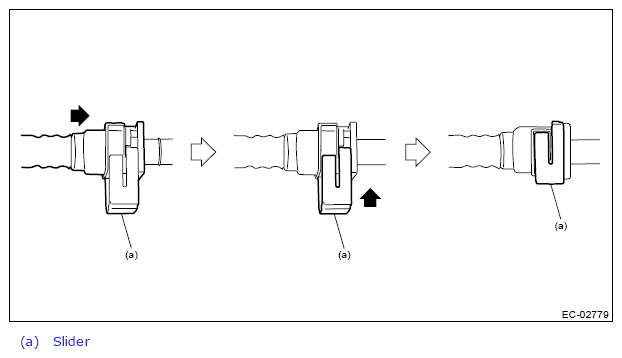
  9. Connect the quick connector of the fuel delivery tube.
    CAUTION:
    • Check that there is no damage or dust on the quick connector. If necessary, clean the seal surface of the pipe.
    • When connecting the quick connector, make sure to insert it all the way in before locking the slider.
    • When it is difficult to lock the slider, check that the connector is fully inserted.
    • After locking the slider, check again that the quick connector is securely connected.
    NOTE: Connect the quick connector as shown in the figure.
    G13258566Courtesy of SUBARU OF AMERICA, INC.
    G08315490Courtesy of SUBARU OF AMERICA, INC.
  10. Connect the connector to the fuel sub level sensor.
    G08315488Courtesy of SUBARU OF AMERICA, INC.
  11. Install the service hole cover of fuel sub level sensor.
    G08315487Courtesy of SUBARU OF AMERICA, INC.
  12. Connect the connector to the fuel pump.
    G09475615Courtesy of SUBARU OF AMERICA, INC.
  13. Install the service hole cover of fuel pump.
    G08315485Courtesy of SUBARU OF AMERICA, INC.
  14. Install the rear seat cushion. Refer to SEATS>REAR SEAT>INSTALLATION .
  15. Connect the ground terminal to battery sensor. Refer to NOTE>NOTE>BATTERY .