LEMON Manuals: Even more car manuals for everyone: 1960-2025
Home >> Subaru >> 2019 >> WRX Base >> Repair and Diagnosis >> Transmission >> Automatic Trans >> Transmission Control Systems >> Select Cable >> Adjustment
April 5, 2026: LEMON Manuals is launched! Read the announcement.

Select Cable: Adjustment

  1. Shift the select lever to "N" range.
  2. Lift up the vehicle.
  3. Remove the center exhaust pipe (rear). Refer to EXHAUST (EXCEPT FOR STI)>CENTER EXHAUST PIPE>REMOVAL .
  4. Remove the center exhaust cover.
    G12448281Courtesy of SUBARU OF AMERICA, INC.
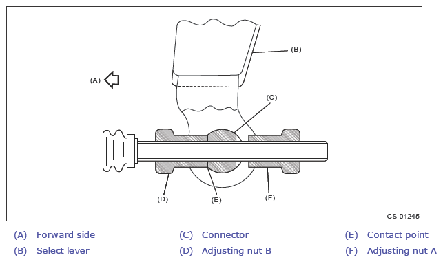
  5. Loosen the adjusting nuts on both sides.
    G13260502Courtesy of SUBARU OF AMERICA, INC.
  6. Turn adjusting nut B until it lightly touches the connector.
    G13260503Courtesy of SUBARU OF AMERICA, INC.
  7. Set a spanner wrench to adjusting nut B so that it does not rotate, and then tighten the adjusting nut A.

    Tightening torque: 

    7.5 N.m (0.76 kgf-m, 5.5 ft-lb)

    G13260504Courtesy of SUBARU OF AMERICA, INC.
  8. After the completion of adjustment, confirm that the select lever operates normally at all ranges.
  9. Installing procedure hereafter is in the reverse order of removal.