LEMON Manuals: Even more car manuals for everyone: 1960-2025
Home >> Subaru >> 2020 >> Forester Touring >> Repair and Diagnosis >> Engine Performance >> Engine Ignition System >> Spark Plug >> Inspection
April 5, 2026: LEMON Manuals is launched! Read the announcement.

Spark Plug: Inspection

  1. Check the spark plug for damage. If defective, replace the spark plug.
    G13591196Courtesy of SUBARU OF AMERICA, INC.
  2. Check the spark plug electrode and condition of the insulator. If abnormal, check and repair the cause and replace the spark plug.
    1. Normal:

      Brown to grayish-tan deposits and slight electrode wear indicate correct spark plug heat range.

      G07665105Courtesy of SUBARU OF AMERICA, INC.
    2. Carbon fouled:

      Dry fluffy carbon deposits on the insulator and electrode are mostly caused by slow-speed driving in town, weak ignition, too rich fuel mixture, etc.

      G13591198Courtesy of SUBARU OF AMERICA, INC.
    3. Oil fouled:

      Wet black deposits show oil entrance into combustion chamber through worn piston rings or increased clearance between valve guides and valve stems.

      G07665107Courtesy of SUBARU OF AMERICA, INC.
    4. Overheating:

      A white or light gray insulator with black or brown spots and bluish burnt electrodes indicate engine overheating, wrong selection of fuel, or loose spark plugs.

      G07665108Courtesy of SUBARU OF AMERICA, INC.
  3. Using a nylon brush, etc., clean and remove the carbon or oxide deposits from the spark plug. If deposits are too stubborn, replace the spark plugs.
    NOTE:
    • Never use a plug cleaner.
    • Do not use a metal brush as it may damage the electrode area.
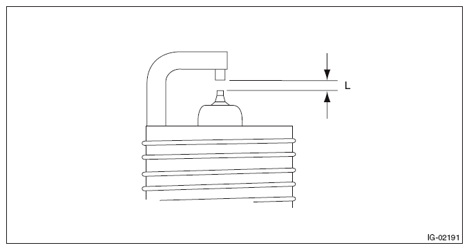
  4. Check the spark plug gap "L" using a gap gauge. If it is not within the standard, replace the spark plug.
    CAUTION: Do not adjust the gap, because the iridium plug is used.

    Standard 

    0.7 - 0.8 mm (0.028 - 0.031 in)

    G09486951Courtesy of SUBARU OF AMERICA, INC.