LEMON Manuals: Even more car manuals for everyone: 1960-2025
Home >> Subaru >> 2021 >> Crosstrek Base, Standard Trans >> Repair and Diagnosis >> Transmission >> Automatic Trans >> Transmission Control System >> Select Cable >> Adjustment
April 5, 2026: LEMON Manuals is launched! Read the announcement.

Select Cable: Adjustment

  1. Release the shift lock using a screwdriver, etc. and shift the select lever to the "N" range.
    G13225109Courtesy of SUBARU OF AMERICA, INC.
  2. Lift up the vehicle.
  3. Remove the center exhaust cover.
    • Except for Crosstrek hybrid model
    G13230505Courtesy of SUBARU OF AMERICA, INC.
    • Crosstrek hybrid model
    G13230506Courtesy of SUBARU OF AMERICA, INC.
  4. Loosen the adjusting nuts on both sides.
    G13935607Courtesy of SUBARU OF AMERICA, INC.
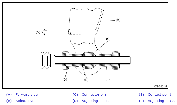
  5. Turn adjusting nut B until it lightly touches the connector pin.
    G13935608Courtesy of SUBARU OF AMERICA, INC.
  6. Set a spanner wrench to adjusting nut B so that it does not rotate, and then tighten the adjusting nut A.

    Tightening torque: 

    7.5 N.m (0.8 kgf-m, 5.5 ft-lb)

    G13935609Courtesy of SUBARU OF AMERICA, INC.
  7. After the completion of adjustment, confirm that the select lever operates normally at all ranges.
  8. Install in the reverse order of removal.