LEMON Manuals: Even more car manuals for everyone: 1960-2025
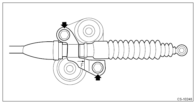
Home >> Subaru >> 2021 >> Crosstrek Hybrid >> Repair and Diagnosis >> Transmission >> Automatic Trans >> Transmission Control System >> Select Cable >> Installation
April 5, 2026: LEMON Manuals is launched! Read the announcement.

Select Cable: Installation

CAUTION:
  • Check that the protector (b) is set between the clamps (a).
  • If the protector (b) is offset, set it between the clamps (a).
G13935596Courtesy of SUBARU OF AMERICA, INC.
  1. Install the select cable to cable plate.
    CAUTION: Be careful not to twist the boot.

    Tightening torque: 

    18 N.m (1.8 kgf-m, 13.3 ft-lb)

    G13225512Courtesy of SUBARU OF AMERICA, INC.
  2. Set a new clamp on the select lever and secure it by bending the claw.
    NOTE: Set so that the claw faces toward the rear side.
  3. Insert the select cable into the select lever and secure it with the clamp.
    CAUTION: Do not apply excessive load while holding the part (a).
    G13591854Courtesy of SUBARU OF AMERICA, INC.
    G08550615Courtesy of SUBARU OF AMERICA, INC.
  4. Temporarily Install the adjusting nut to the select cable.
  5. Connect the select cable to the transmission main body.
    CAUTION: Do not apply excessive load while holding the part (a).
    G13591814Courtesy of SUBARU OF AMERICA, INC.
    NOTE: Set the washer before installing the snap pin.

    Tightening torque: 

    25 N.m (2.5 kgf-m, 18.4 ft-lb)

    • Except for Crosstrek hybrid model
    G13225470Courtesy of SUBARU OF AMERICA, INC.
    • Crosstrek hybrid model
    G13232273Courtesy of SUBARU OF AMERICA, INC.
  6. Shift the select lever to the "N" range, and then adjust the select cable position. Ref. to CONTROL SYSTEMS>SELECT CABLE>ADJUSTMENT .
  7. Install the inhibitor cover. (Crosstrek hybrid model)

    Tightening torque: 

    7.5 N.m (0.8 kgf-m, 5.5 ft-lb)

    G13232284Courtesy of SUBARU OF AMERICA, INC.
  8. Install the center exhaust cover.

    Tightening torque: 

    18 N.m (1.8 kgf-m, 13.3 ft-lb)

  9. Lower the vehicle.
  10. Shift the select lever to "P range".
  11. Connect the ground terminal to battery sensor. Ref. to REPAIR CONTENTS>REPAIR CONTENTS>NOTE>BATTERY .
NOTE: For the hybrid model, connect the battery negative terminal.