LEMON Manuals: Even more car manuals for everyone: 1960-2025
Home >> Subaru >> 2021 >> Forester Base >> Repair and Diagnosis >> Transmission >> Automatic Trans >> CVT Transaxle System >> Reduction Driven Gear >> Assembly
April 5, 2026: LEMON Manuals is launched! Read the announcement.

Reduction Driven Gear: Assembly

  1. Using the ST and a press, press-fit the parking gear.
    NOTE: Apply CVTF to the press-fitting surface of the parking gear.

    Preparation tool: 

    ST: INSTALLER (499757002)

    G11255789Courtesy of SUBARU OF AMERICA, INC.
  2. Using the ST and a press, press-fit the transfer drive gear.
    NOTE: Apply CVTF to the press-fitting surface of the transfer drive gear.

    Preparation tool: 

    ST: INSTALLER (499757002)

    G08317938Courtesy of SUBARU OF AMERICA, INC.
  3. Using the ST and a press, press-fit a new ball bearing.
    NOTE: Apply CVTF to the ball bearing.

    Preparation tool: 

    ST: BUSHING 1-2 INSTALLER (499277100)

    G08317939Courtesy of SUBARU OF AMERICA, INC.
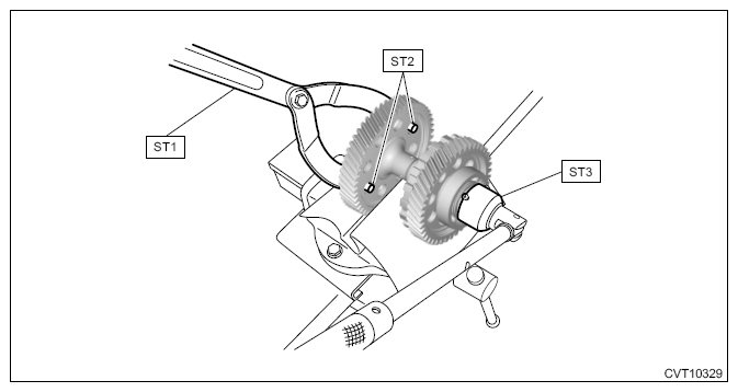
  4. Using the ST1, ST2 and ST3, counter the rotation of the reduction driven gear, and install a new lock nut.
    CAUTION: Place cloth between the contacting surface of the vise and the reduction driven gear to prevent reduction driven gear damage.

    Preparation tool: 

    ST1: PULLEY WRENCH (18355AA000)

    ST2: PULLEY WRENCH PIN SET (18334AA000)

    ST3: SOCKET WRENCH (35) (499987003)

    Tightening torque: 

    95 N.m (9.7 kgf.m, 70.1 ft.b)

    G11255786Courtesy of SUBARU OF AMERICA, INC.
  5. Crimp the lock nut so that the dimension of A becomes 18.9 mm (0.74 in) or less.
    CAUTION: Do not allow the lock nut to be cracked during crimping operation.
    G10218745Courtesy of SUBARU OF AMERICA, INC.
  6. Install the snap ring.