LEMON Manuals: Even more car manuals for everyone: 1960-2025
Home >> Subaru >> 2021 >> Outback Base >> Repair and Diagnosis >> Electrical >> Horns >> Horn System >> Inspection
April 5, 2026: LEMON Manuals is launched! Read the announcement.

Horn System: Inspection

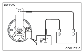
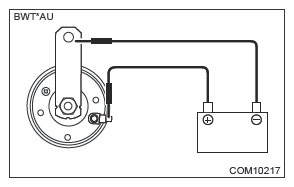
  1. Check the horn sounds when applying the battery voltage to the horn assembly.
    • Horn assembly Lo side
      G13622948Courtesy of SUBARU OF AMERICA, INC.
    • Horn assembly Hi side
    G13622949Courtesy of SUBARU OF AMERICA, INC.
    Terminal No. Inspection conditions Specification
    1 (+) - Horn case (-) Connect battery to the terminals Sounds
  2. If it does not operate normally, replace the horn assembly.