LEMON Manuals: Even more car manuals for everyone: 1960-2025
Home >> Subaru >> 2021 >> Outback Base >> Repair and Diagnosis >> Suspension >> Rear Suspension System >> Trailing Link >> Assembly
April 5, 2026: LEMON Manuals is launched! Read the announcement.

Trailing Link: Assembly

  1. Before assembly, inspect the following items and replace any faulty part with a new one.
    • Check trailing link assembly rear for damage and deformation.
    • Check the bushing for abnormal cracks, damage or fatigue.
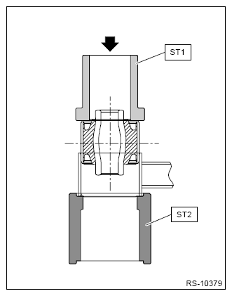
  2. Press-fit the rubber bushing trailing link using ST1 and ST2.
    CAUTION: Make sure to press the bushing straight in.

    Preparation tool: 

    ST1: BUSHING REMOVER (20099FG000)

    ST2: INSTALLER & REMOVER (20099PA010)

    G13949614Courtesy of SUBARU OF AMERICA, INC.