LEMON Manuals: Even more car manuals for everyone: 1960-2025
Home >> Subaru >> 2021 >> Outback Base >> Repair and Diagnosis >> Suspension >> Rear Suspension System >> Trailing Link >> Disassembly
April 5, 2026: LEMON Manuals is launched! Read the announcement.

Trailing Link: Disassembly

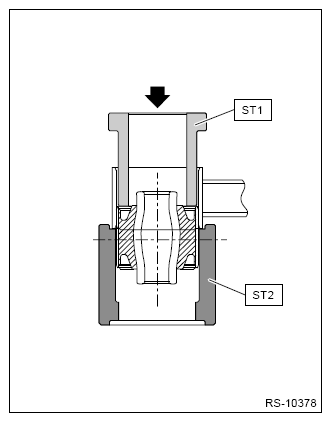
Push out the rubber bushing trailing link using ST1 and ST2.

Preparation tool: 

ST1: BUSHING REMOVER (20099FG000)

ST2: INSTALLER & REMOVER (20099PA010)

G13949613Courtesy of SUBARU OF AMERICA, INC.