LEMON Manuals: Even more car manuals for everyone: 1960-2025
Home >> Subaru >> 2021 >> WRX Base >> Repair and Diagnosis >> Transmission >> Automatic Trans >> Transmission Control System >> Reverse Check Cable >> Adjustment
April 5, 2026: LEMON Manuals is launched! Read the announcement.

Reverse Check Cable: Adjustment

  1. Disconnect the ground cable from battery. Refer to NOTE>NOTE>BATTERY .
    NOTE: For model with battery sensor, disconnect the ground terminal from battery sensor.
  2. Lift up the vehicle.
  3. Remove the center exhaust pipe (rear). Refer to EXHAUST(STI)>CENTER EXHAUST PIPE>REMOVAL .
  4. Remove the center exhaust cover.
    G08550630Courtesy of SUBARU OF AMERICA, INC.
  5. Remove the crossmember. Refer to MANUAL TRANSMISSION AND DIFFERENTIAL(6MT) (TY85)>TRANSMISSION MOUNTING SYSTEM>REMOVAL .
  6. Measure the distance "A" from the shift bracket seating face on transmission side to the hole edge of the reverse check lever.
    G10267976Courtesy of SUBARU OF AMERICA, INC.
  7. Measure the distance "B" from the shift bracket seating face on transmission side to the hole edge of the extension case.
    G10267977Courtesy of SUBARU OF AMERICA, INC.
  8. Calculate the following formula and determine the amount of cable adjustment.

    T mm = (A - B) x 0.56

    [T in = (A - B) x 0.56]

    T: Amount of cable adjustment

    A: Distance from the shift bracket seating face on transmission side to the hole edge of the reverse check lever

    B: Distance from the shift bracket seating face on transmission side to the hole edge of the extension case

    NOTE:
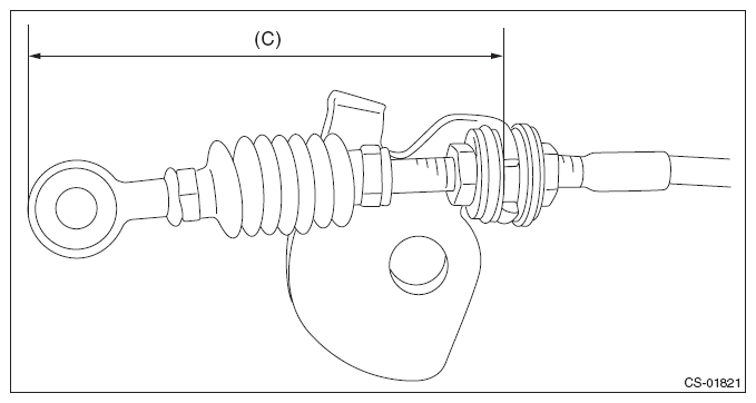
    • If the value "T" (amount of cable adjustment) is positive (+), shorten the length "C" (from cable plate edge to reverse check cable) by using adjustment procedures.
    • If the value "T" (amount of cable adjustment) is negative (-), lengthen the length "C" (from cable plate edge to reverse check cable) by using adjustment procedures.
    G10267978Courtesy of SUBARU OF AMERICA, INC.
  9. Remove the snap pin and washer, and separate the reverse check cable.
    G13646948Courtesy of SUBARU OF AMERICA, INC.
  10. Move the transmission to the right side, and remove the stay bolts and the reverse check cable.
    NOTE: If the transmission is not moved aside, the stay bolts may contact the body and cause damage.
    G13646949Courtesy of SUBARU OF AMERICA, INC.
  11. Check the adjustment of the reverse check cable.
    1. Add a marking on the reverse check cable.
      G13646950Courtesy of SUBARU OF AMERICA, INC.
    2. According to the value "T" (amount of cable adjustment) calculated in the step 8), turn the lock nut of reverse check cable back and forth, then adjust the length "C" (from cable plate edge to reverse check cable).
      NOTE:
      • Turning the lock nut toward front of the vehicle makes the cable length shorter and toward the rear of the vehicle the cable length longer.
      • The amount of the cable adjustment by one lock nut rotation is 1 mm (0.04 in).
      • Turn the lock nuts on both sides by the same adjustment amount.
      G10267978Courtesy of SUBARU OF AMERICA, INC.
    3. Tighten the lock nut.

      Tightening torque: 

      6 N.m (0.6 kgf-m, 4.4 ft-lb)

  12. Move the transmission to the right side, and install the stay.

    Tightening torque: 

    T: 32 N.m (3.3 kgf-m, 23.6 ft-lb)

    Fig 1: Reverse Check Cable, Stay Bolt (With Torque Specification)
    G13646952Courtesy of SUBARU OF AMERICA, INC.
  13. Install the reverse check cable, washer and snap pin.
    NOTE: Make sure to point the snap pin in an appropriate direction.
    G13646953Courtesy of SUBARU OF AMERICA, INC.
  14. Make sure the hole of extension case is aligned with that of reverse check lever. If the hole positions are not aligned, return to the step 6) and repeat the adjustment procedures of the reverse check cable.
    NOTE:
    • Check that the M3 bolt goes through the hole of reverse check lever and can be inserted into the hole of extension case.
    • When checking visually, confirm that the gap of hole positions is 0.5 mm (0.02 in) or less.
    G13646954Courtesy of SUBARU OF AMERICA, INC.
    NOTE: If the hole positions are not aligned after repeating the reverse check cable adjustment, adjust the cable hole position to the reference standard.

    Distance from the shift bracket seating face on transmission side to the hole edge of the reverse check lever "A": 

    Reference standard 

    16 mm (0.63 in)

    G10267986Courtesy of SUBARU OF AMERICA, INC.
  15. Install the crossmember. Refer to MANUAL TRANSMISSION AND DIFFERENTIAL(6MT) (TY85)>TRANSMISSION MOUNTING SYSTEM>INSTALLATION .
  16. Install the center exhaust cover.

    Tightening torque: 

    18 N.m (1.8 kgf-m, 13.3 ft-lb)

  17. Install the center exhaust pipe (rear). Refer to EXHAUST(STI)>CENTER EXHAUST PIPE>INSTALLATION .
  18. Connect the battery ground terminal. Refer to NOTE>NOTE>BATTERY .