LEMON Manuals: Even more car manuals for everyone: 1960-2025
Home >> Subaru >> 2022 >> Outback Touring >> Repair and Diagnosis >> Transmission >> Automatic Trans >> Transmission Control System >> Select Cable >> Installation
April 5, 2026: LEMON Manuals is launched! Read the announcement.

Select Cable: Installation

CAUTION:
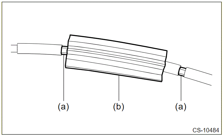
  • Check that the protector (b) is set between the clamps (a).
  • If the protector (b) is offset, set it between the clamps (a).
    G00608679Courtesy of SUBARU OF AMERICA, INC.
  1. Install the cable plate.
    CAUTION:

    Be careful not to twist the boot.

    Tightening torque: 

    18 N.m (1.8 kgf.m, 13.3 ft.lb)

    G13225512Courtesy of SUBARU OF AMERICA, INC.
  2. Set a new clamp on the select lever and secure it by bending the claw.
    NOTE: Install it with the claw facing the rear side.
  3. Insert the select cable into the select lever and secure it with the clamp.
    CAUTION: Do not apply excessive load while holding the part (a).
    G13591854Courtesy of SUBARU OF AMERICA, INC.
    G13621467Courtesy of SUBARU OF AMERICA, INC.
  4. Temporarily Install the adjusting nut (rear) to the select cable.
  5. Connect the select cable to the transmission main body.
    CAUTION: Do not apply excessive load while holding the part (a).
    G13591814Courtesy of SUBARU OF AMERICA, INC.
    NOTE: Set the washer before installing the snap pin.

    Tightening torque: 

    25 N.m (2.5 kgf.m, 18.4 ft.lb)

    G13225470Courtesy of SUBARU OF AMERICA, INC.
  6. Adjust the select cable free play Ref. to CONTROL SYSTEMS>SELECT CABLE>ADJUSTMENT .
  7. Install the center exhaust cover.

    H4DO model: 

    Ref. to EXHAUST (H4DO)>REAR EXHAUST PIPE>INSTALLATION .

    H4DOTC model: 

    Ref. to EXHAUST (H4DOTC)>REAR EXHAUST PIPE>INSTALLATION .

  8. Release the shift lock and shift the select lever to the "P range". Ref. to CONTROL SYSTEMS>SELECT LEVER>INSTALLATION 
  9. Connect the ground terminal to battery sensor. Ref. to REPAIR CONTENTS>NOTE>BATTERY .