LEMON Manuals: Even more car manuals for everyone: 1960-2025
Home >> Subaru >> 2023 >> Ascent Base >> Repair and Diagnosis >> Electrical >> Charging Systems >> Starting System & Charging System >> Starter >> Disassembly
April 5, 2026: LEMON Manuals is launched! Read the announcement.

Starting System & Charging System: Starter: Disassembly

CAUTION: The starter should be placed through a no-load test whenever it has been overhauled.
  1. Disconnect the cable from the M terminal.
    G13199221Courtesy of SUBARU OF AMERICA, INC.
  2. Remove the magnet switch.
    G13199222Courtesy of SUBARU OF AMERICA, INC.
  3. Remove the bolt (A) and through bolts (B), and remove the starter cover.
    G13199223Courtesy of SUBARU OF AMERICA, INC.
  4. Remove the brush holder.
    NOTE: Hold the brush with your fingers so that the brush spring does not come flying out.
    G07665122Courtesy of SUBARU OF AMERICA, INC.
  5. Remove the armature and yoke together as a single unit.
    G13199225Courtesy of SUBARU OF AMERICA, INC.
  6. Separate the armature and yoke.
    G07665124Courtesy of SUBARU OF AMERICA, INC.
  7. Remove the pinion gear.
    G13199227Courtesy of SUBARU OF AMERICA, INC.
  8. Remove the seal rubber (A) and plate (B).
    G13199228Courtesy of SUBARU OF AMERICA, INC.
  9. Lightly tap the starter housing with a plastic hammer as shown in the figure, and remove the overrunning clutch, internal gear, shaft and shift lever together as one unit.
    G13199229Courtesy of SUBARU OF AMERICA, INC.
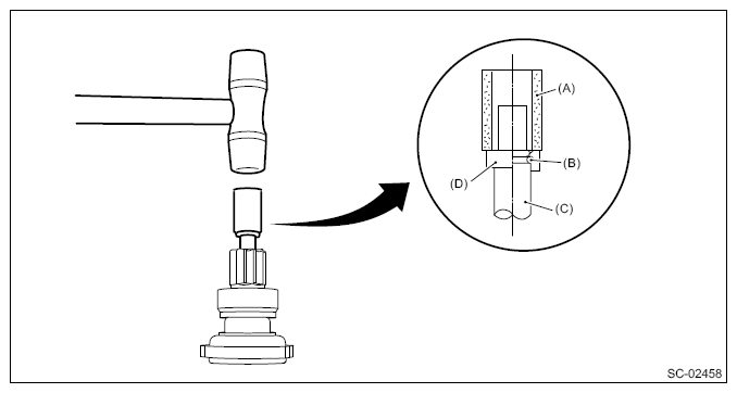
  10. Use the following procedures to remove the overrunning clutch.
    1. Set an appropriate tool (suitable attachment, etc.), and remove the stopper from snap ring by lightly tapping the stopper with a plastic hammer.
      G16346930Courtesy of SUBARU OF AMERICA, INC.
      (A) Appropriate tool
      (B) Snap ring
      (C) Shaft
      (D) STOPPER
    2. Remove the snap ring (A), and remove the stopper (B).
      G07665129Courtesy of SUBARU OF AMERICA, INC.
    3. Remove the overrunning clutch.
    G07665130Courtesy of SUBARU OF AMERICA, INC.
  11. Remove the internal gear.
G07665131Courtesy of SUBARU OF AMERICA, INC.