LEMON Manuals: Even more car manuals for everyone: 1960-2025
Home >> Subaru >> 2023 >> Ascent Base >> Repair and Diagnosis >> Transmission >> Automatic Trans >> CVT Transaxle System >> Intermediate Case >> Installation
April 5, 2026: LEMON Manuals is launched! Read the announcement.

Intermediate Case: Installation

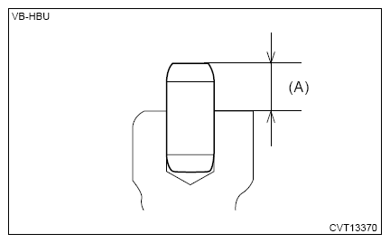
  1. Check the projection (A) of the knock pins.
    NOTE: When attached on the intermediate case side, install on the transmission case side.

    Specification: 

    8.5 - 9.5 mm (0.33 - 0.37 in)

    G14611304Courtesy of SUBARU OF AMERICA, INC.
    G14611221Courtesy of SUBARU OF AMERICA, INC.
  2. Install the CVTF filter to the intermediate case.
    NOTE:
    • When reusing the CVTF filter, check the filter for clogging.
    • Install with the O-ring side (a) facing the intermediate case.
    • Apply CVTF to the O-rings.
    G13622137Courtesy of SUBARU OF AMERICA, INC.
  3. Select the washer for the forward clutch.
    1. Using the ST, measure the height "H1" from the ST end face to the reduction driven gear washer catch surface.

      Preparation tool: 

      ST: GAUGE (499575600)

      G16389657Courtesy of SUBARU OF AMERICA, INC.
      (A) Measurement surface
    2. Install the thrust bearing.
      NOTE: Make sure to install in the right direction.
      G13622139Courtesy of SUBARU OF AMERICA, INC.
    3. Install the forward clutch to intermediate case.
    4. Using the ST, measure the height "H2" from the ST end face to the intermediate case mating surface.

      Preparation tool: 

      ST: GAUGE (499575600)

      G16389659Courtesy of SUBARU OF AMERICA, INC.
      (A) Measurement surface
    5. Using the following calculation, select an appropriate washer thickness "T.
    NOTE: Adjust using 1 piece.

    T = (H1 - 15 mm (0.6 in)) - (H2 - 15 mm (0.6 in)) - 0.75 - 0.95 mm (0.030 - 0.037 in)

    T Washer thickness mm (in)
    H1 Measured value (mm (in)) of step (1)
    H2 Measured value (mm (in)) of step (4)
    15 mm (0.6 in) Thickness of ST
    0.75 - 0.95 mm (0.030 - 0.037 in) Clearance specification
  4. Install the washer.
    G13622135Courtesy of SUBARU OF AMERICA, INC.
  5. Install a new O-ring.
    NOTE: Apply CVTF to the O-rings.
    G13200159Courtesy of SUBARU OF AMERICA, INC.
  6. Apply liquid gasket to the mating surface of the transmission case as shown in the figure.
    NOTE:
    • Before applying liquid gasket, degrease the liquid gasket seal surfaces of the intermediate case and transmission case.
    • Install within 5 min. after applying liquid gasket.

    Preparation items: 

    Liquid gasket: THREE BOND 1215B or equivalent

    G13622143Courtesy of SUBARU OF AMERICA, INC.
  7. Install the intermediate case (A) and the forward clutch (B) as a single unit to the transmission case (C).
    CAUTION: Do not press-in forcibly because there is a possibility of offset on the reverse brake.
    G13622144Courtesy of SUBARU OF AMERICA, INC.
  8. Install the transmission hanger (A), and install the bolts which hold the intermediate case.
    CAUTION: Install the bolts after confirming close contact of the intermediate case and transmission case.

    Tightening torque: 

    25 N.m (2.5 kgf-m, 18.4 ft-lb)

    G16389647Courtesy of SUBARU OF AMERICA, INC.
  9. Install the transfer reduction driven gear. Ref. to CONTINUOUSLY VARIABLE TRANSMISSION (TR690)>TRANSFER REDUCTION DRIVEN GEAR>INSTALLATION .