LEMON Manuals: Even more car manuals for everyone: 1960-2025
Home >> Subaru >> 2023 >> Crosstrek Base, Standard Trans >> Repair and Diagnosis >> Engine Performance >> Engine Control Systems >> Fuel Injection System (Except For HEV) >> Engine Oil Temperature Sensor >> Inspection
April 5, 2026: LEMON Manuals is launched! Read the announcement.

Engine Oil Temperature Sensor: Inspection

  1. Check that the engine oil temperature sensor has no deformation, cracks or other damages.
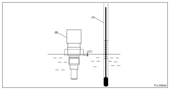
  2. Immerse the engine oil temperature sensor and a thermometer in water.
    CAUTION: Take care not to allow water to get into the engine oil temperature sensor connector. Completely remove any water inside.
    G16340618Courtesy of SUBARU OF AMERICA, INC.
    (A)  Thermometer 
    (B)  ENGINE OIL TEMPERATURE SENSOR 
    (C)  Hexagonal part height: To approx. 1/3 
  3. Raise water temperature gradually, measure the resistance between the engine oil temperature sensor terminals when the temperature is 20°C (68°F) and 80°C (176°F).
    NOTE: Agitate the water for even temperature distribution.
G11252861Courtesy of SUBARU OF AMERICA, INC.
Water temperature Terminal No. Standard
20°C (68°F) 1 and 2 2.45±0.2 KΩ
80°C (176°F) 0.318±0.013 KΩ