LEMON Manuals: Even more car manuals for everyone: 1960-2025
Home >> Subaru >> 2023 >> Crosstrek Base, Standard Trans >> Repair and Diagnosis >> Transmission >> Automatic Trans >> Transmission Control System >> Select Cable >> Adjustment
April 5, 2026: LEMON Manuals is launched! Read the announcement.

Select Cable: Adjustment

  1. Release the shift lock using a screwdriver, etc. and shift the select lever to the "N" range.
    G13225109Courtesy of SUBARU OF AMERICA, INC.
  2. Lift up the vehicle.
  3. Remove the rear exhaust pipe and center exhaust cover. Ref. to EXHAUST (H4DO (EXCEPT FOR HEV))>REAR EXHAUST PIPE>REMOVAL .
  4. Loosen the adjusting nuts on both sides.
    G16350092Courtesy of SUBARU OF AMERICA, INC.
    (A) Adjusting nut A
    (B) Adjusting nut B
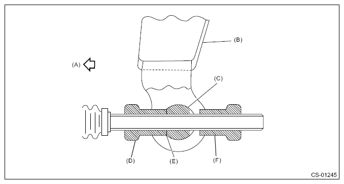
  5. Turn adjusting nut B until it lightly touches the connector pin.
    G16350093Courtesy of SUBARU OF AMERICA, INC.
    (A) Forward side
    (B) Select lever
    (C) Connector pin
    (D) Adjusting nut B
    (E) Contact point
    (F) Adjusting nut A
  6. Set a spanner wrench to adjusting nut B so that it does not rotate, and then tighten the adjusting nut A.

    Tightening torque: 

    7.5 N.m (0.8 kgf-m, 5.5 ft-lb)

    G16350094Courtesy of SUBARU OF AMERICA, INC.
    (A) Adjusting nut A
    (B) Adjusting nut B
  7. After the completion of adjustment, confirm that the select lever operates normally at all ranges.
  8. Install in the reverse order of removal.