LEMON Manuals: Even more car manuals for everyone: 1960-2025
Home >> Subaru >> 2023 >> Forester Limited >> Repair and Diagnosis >> Engine Performance >> Engine Control Systems >> Fuel Injection System >> Fuel Injector >> Replacement
April 5, 2026: LEMON Manuals is launched! Read the announcement.

Fuel Injector: Replacement

  1. Remove the fuel injector holder.
    G13223877Courtesy of SUBARU OF AMERICA, INC.
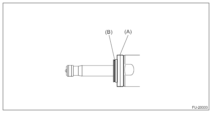
  2. Remove the C-ring (A) and slider washer (B).
    G11252826Courtesy of SUBARU OF AMERICA, INC.
  3. Remove the stopper ring (A).
  4. Remove the O-ring (B) and backup ring (C).
    G11252827Courtesy of SUBARU OF AMERICA, INC.
  5. Gradually expand the fuel injector seal and remove the fuel injector seal.
    CAUTION:
    • Be careful not to apply too much force when pinching the fuel injector seal, or the fuel injector groove may be damaged.
    • If the tip of the fuel injector assembly is hit or the assembly is dropped, replace the fuel injector assembly with a new part.
    G11252828Courtesy of SUBARU OF AMERICA, INC.
  6. Install the fuel injector seal.
    1. Remove carbon from area (A) shown in the figure (sides of fuel injector and the seal groove).
      CAUTION:
      • Do not attempt to clean the tip.
      • Do not use a wire-brush.
      • If the tip of the fuel injector assembly is hit or the assembly is dropped, replace the fuel injector assembly with a new part.
      G11252829Courtesy of SUBARU OF AMERICA, INC.
    2. Set the ST1 on the fuel injector so that the tapered side (A) (with ST number printed) faces toward the tip of the fuel injector.

      Preparation tool: 

      ST1: ADJUSTER (18271AA020)

      G11252830Courtesy of SUBARU OF AMERICA, INC.
    3. Install new fuel injector seal (A) on ST2.
      CAUTION: When setting the fuel injector seal on the ST2, be careful not to set it obliquely, or the seal is stretched and become hard to be fixed.
      NOTE: Apply liquid paraffin to the fuel injector seal.

      Preparation tool: 

      ST2: GUIDE (18671AA050)

      G11252831Courtesy of SUBARU OF AMERICA, INC.
    4. Set the ST2 with the fuel injector seal installed on the tip of the fuel injector, and push down on the fuel injector seal with fingers and install to the fuel injector groove as shown in the figure.
      CAUTION: Make sure that the entire perimeter of the fuel injector seal fit in the groove.

      Preparation tool: 

      ST1: ADJUSTER (18271AA020)

      ST2: GUIDE (18671AA050)

      G11252832Courtesy of SUBARU OF AMERICA, INC.
    5. Slowly pull up the ST1 toward the tip side of fuel injector while lightly pressing down the fuel injector seal with the ST2 to make the fuel injector seal rest in the fuel injector groove.
      CAUTION: Be careful not to let the fuel injector seal get caught in the ST1 and the fuel injector groove. If it gets caught, replace the seal with a new part.

      Preparation tool: 

      ST1: ADJUSTER (18271AA020)

      ST2: GUIDE (18671AA050)

      G12391413Courtesy of SUBARU OF AMERICA, INC.
      (A) Hold
    6. Slowly pull up the ST1 toward the tip side of fuel injector, and hold in position for at least 5 seconds when the fuel injector seal of the connector side reaches to the straight section of the ST1, and fix the condition of the fuel injector seal.
      CAUTION: Be careful not to let the fuel injector seal get caught in the ST1 and the fuel injector groove. If it gets caught, replace the seal with a new part.
      NOTE:
      • The straight section is where the bottom end of the fuel injector seal and the bottom end of the ST1 meet.
      • If it is hard to lift up the ST1, try to slowly lift the ST1 by shaking it side to side.

      Preparation tool: 

      ST1: ADJUSTER (18271AA020)

      G11252834Courtesy of SUBARU OF AMERICA, INC.
    7. After installing the fuel injector seal, check the seal for scratches, crushed area, or dislocation from the groove.
      CAUTION: If scratches, crushed area, or dislocation from the groove is found, replace the fuel injector seal with a new part again.
    G13866711Courtesy of SUBARU OF AMERICA, INC.
  7. Install the fuel injector assembly.
    CAUTION: If the tip of the fuel injector assembly is hit or the assembly is dropped, replace the fuel injector assembly with a new part.
    1. Install new backup ring, new O-ring seal and new stopper ring as shown in the figure.
      CAUTION:
      • Check the O-ring seal groove of the fuel injector for foreign materials or damage.
      • Make sure that the orientation of the back-up ring is correct.
      • When installing the stopper ring, the groove should face toward the fuel injector pipe.
      • Make sure that the installation order of the backup ring and O-ring seal is correct.
      • There should be no expansion or ride over at the backup ring gap.
      • After assembling the parts, there should be no foreign materials or damage on the fuel injector seal.
      NOTE: Apply liquid paraffin to the O-ring seal.
      G16340555Courtesy of SUBARU OF AMERICA, INC.
      (A) Back-up ring
      (B) O-ring seal
      (C) Stopper ring
      (D) Back-up ring gap
      (E) Ride over
      (F) Expansion
      (G) Groove
    2. Install a C-ring and new slider washer.
      CAUTION: When installing the slider washer, the groove side (a) should face toward the fuel injector.
    G12391417Courtesy of SUBARU OF AMERICA, INC.
    G16340557Courtesy of SUBARU OF AMERICA, INC.
    (A) Slider washer
    (B) C-ring