LEMON Manuals: Even more car manuals for everyone: 1960-2025
Home >> Subaru >> 2023 >> Outback Base >> Repair and Diagnosis >> Suspension >> Wheel Alignment >> Front Suspension System And Wheel Alignment >> Front Strut >> Disposal
April 5, 2026: LEMON Manuals is launched! Read the announcement.

Front Strut: Disposal

CAUTION:
  • Before handling the strut COMPL front and the shock absorber COMPL rear, be sure to wear goggles to protect eyes from gas, oil and cutting powder.
  • Do not disassemble the strut COMPL front and the shock absorber COMPL rear or throw them into flames.
  • When discarding the strut COMPL front and the shock absorber COMPL rear filled with gas, use a saw to make a cut on them to purge the gas.
  1. Place the strut COMPL front and the shock absorber COMPL rear on a level surface with the piston rod fully expanded.
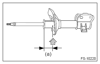
  2. Use a saw and make a cut at the location shown in the figure to purge the gas.
G16349255Courtesy of SUBARU OF AMERICA, INC.
(a) 40 mm (1.57 in)