LEMON Manuals: Even more car manuals for everyone: 1960-2025
Home >> Subaru >> 2024 >> BRZ Limited, Automatic Trans >> Repair and Diagnosis >> Transmission >> Automatic Trans >> Automatic Transmission System >> General Description >> Components With Torque Specifications >> Transmission Control Module
April 5, 2026: LEMON Manuals is launched! Read the announcement.

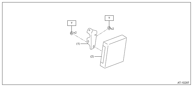
Transmission Control Module

Fig 1: Transmission Control Module Components Location
G16525540Courtesy of SUBARU OF AMERICA, INC.
(1) Bracket
(2) Transmission control module (TCM)

Tightening torque: N.m (kgf-m, ft-lb) 

T: 7.5 (0.8, 5.5)