LEMON Manuals: Even more car manuals for everyone: 1960-2025
Home >> Subaru >> 2024 >> BRZ Limited, Automatic Trans >> Repair and Diagnosis >> Transmission >> Automatic Trans >> Transmission Control System >> MT Gear Shift Rod >> Installation
April 5, 2026: LEMON Manuals is launched! Read the announcement.

MT Gear Shift Rod: Installation

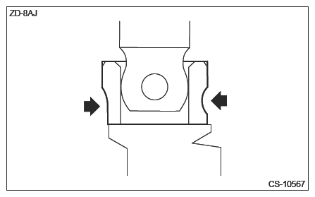
  1. Using a press, press-fit the collar to the joint.
    CAUTION: Be careful not to set the collar at an angle.
    NOTE:
    • After press-fitting, check that there is no gap between the joint and the collar.
    • Press-fit the collar one side at a time.
    G16525514Courtesy of SUBARU OF AMERICA, INC.
    G16525515Courtesy of SUBARU OF AMERICA, INC.
  2. Apply grease to the shaft of the transmission side of the MT gear shift rod.

    Preparation items: 

    Grease: Permalub ECN-9 or equivalent

    G16525516Courtesy of SUBARU OF AMERICA, INC.
  3. Press-fit the MT gear shift rod to the joint.
    1. Using a press, press-fit until the press tip comes in contact with the shaft of the MT gear shift rod.
      CAUTION: Be careful not to set the MT gear shift rod at an angle.
      G16525517Courtesy of SUBARU OF AMERICA, INC.
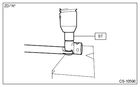
    2. Press-fit the MT gear shift rod to the joint using the ST and a press.
      NOTE: After press-fitting, check that there is no gap between the joint and the collar.

      Preparation tool: 

      ST: ADAPTER (18362AA020)

    G16525518Courtesy of SUBARU OF AMERICA, INC.
    G16525519Courtesy of SUBARU OF AMERICA, INC.
  4. Install the washer and snap pin to the MT gear shift rod.
  5. Install the clamp, cushion, and MT gear shift rod.
    CAUTION: Always use a new clamp.
  6. Install the pin and slide the clamp.
    CAUTION: Always use a new pin.
    G16525520Courtesy of SUBARU OF AMERICA, INC.
    (A) Clamp
    (B) Pin
  7. Crimp the clamp.
    NOTE: Crimp along the joint shape.
    G16525521Courtesy of SUBARU OF AMERICA, INC.
  8. Install the transmission body. Ref. to MANUAL TRANSMISSION>TRANSMISSION ASSEMBLY>INSTALLATION .