LEMON Manuals: Even more car manuals for everyone: 1960-2025
Home >> Subaru >> 2024 >> WRX Base >> Repair and Diagnosis >> Steering >> Power Steering >> Power Steering System >> Universal Joint >> Installation
April 5, 2026: LEMON Manuals is launched! Read the announcement.

Universal Joint: Installation

  1. Before installation, check the universal joint assembly steering. Ref. to POWER ASSISTED SYSTEM (POWER STEERING)>UNIVERSAL JOINT>INSPECTION .
  2. Adjust the tilt position of the steering column to the neutral position.
    NOTE: Place the tilt lever to the lock position after the steering column is adjusted.
  3. Install the universal joint assembly steering.
    CAUTION:
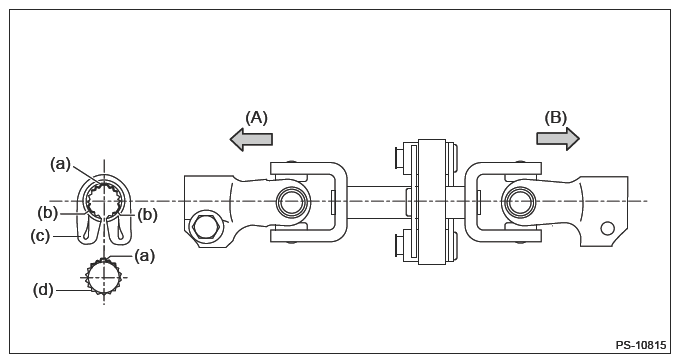
    • Be sure to align the protrusion section (a) of the column shaft side with the cutout (a) of the serration. If other cutout portions (b) are used for alignment, the bolt of the universal joint assembly steering cannot be assembled.
    • Be sure to follow the tightening order and tightening torque of the universal joint assembly steering to avoid the steering effort from becoming heavy. After confirming that the steering column position is in the neutral position, tighten the universal joint assembly steering.
    • When tightening the mounting bolts of the universal joint assembly steering, always tighten the gearbox side bolts first.
    • Always place the tilt lever to the lock position after the steering column is adjusted.
    1. Match the alignment marks that were placed during removal with the column shaft (d) and the cutout portion (a) at the serrations of the yoke (c).
    2. Connect the universal joint assembly steering with the column shaft.
      G16540345Courtesy of SUBARU OF AMERICA, INC.
      (A) Column shaft side
      (B) Gearbox side
    3. Install the universal joint assembly steering to the serrations of the gearbox assembly by matching the cutout portion of the guide (a).
      G11245587Courtesy of SUBARU OF AMERICA, INC.
    4. Tighten the bolts on the gearbox side first, and then the column shaft side.

      Tightening torque: 

      24 N.m (2.4 kgf-m, 17.7 ft-lb)

      Clearance: 

      Universal joint assembly steering coupling to adjacent parts: 15 mm (0.59 in) or more

  4. Unfasten the seat belt and make the steering wheel turn freely.