LEMON Manuals: Even more car manuals for everyone: 1960-2025
Home >> Suzuki >> 1987 >> Samurai Base >> Repair and Diagnosis >> Engine Performance >> System >> Feedback Carburetor System >> Component Testing >> Fuel-Cut System
April 5, 2026: LEMON Manuals is launched! Read the announcement.

Fuel-Cut System

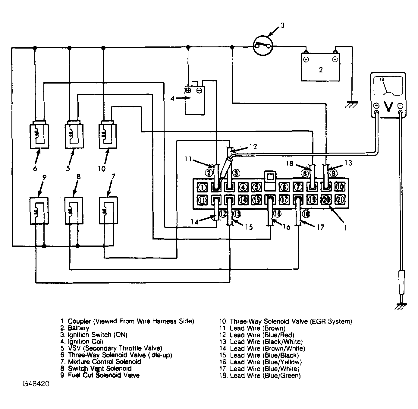
  1. Without starting engine, turn ignition on and off, checking that fuel-cut solenoid makes a clicking noise. If no noise is heard, either solenoid is bad, circuit is disconnected, connectors are dirty or loose or ECM is malfunctioning.
  2. If solenoid is in working order, start and warm engine to normal operating temperature. Increase engine speed to 3000-3500 RPM. Move idle microswitch down, checking that engine changes RPM. See Figure . If not, check for loose or dirty connectors. If system still malfunctions and ECM system is suspected, refer to DIAGNOSIS & TESTING  in this article.
Fig 1: Checking Electronic Control Module Power Circuits
G48420Courtesy of SUZUKI OF AMERICA CORP.