LEMON Manuals: Even more car manuals for everyone: 1960-2025
Home >> Suzuki >> 1990 >> Sidekick JS >> Repair and Diagnosis >> Engine Performance >> System >> Engine Controls - Tests W/Codes >> Fault Code Flow Charts >> Code 22 - Throttle Position Sensor Circuit Indication Low
April 5, 2026: LEMON Manuals is launched! Read the announcement.

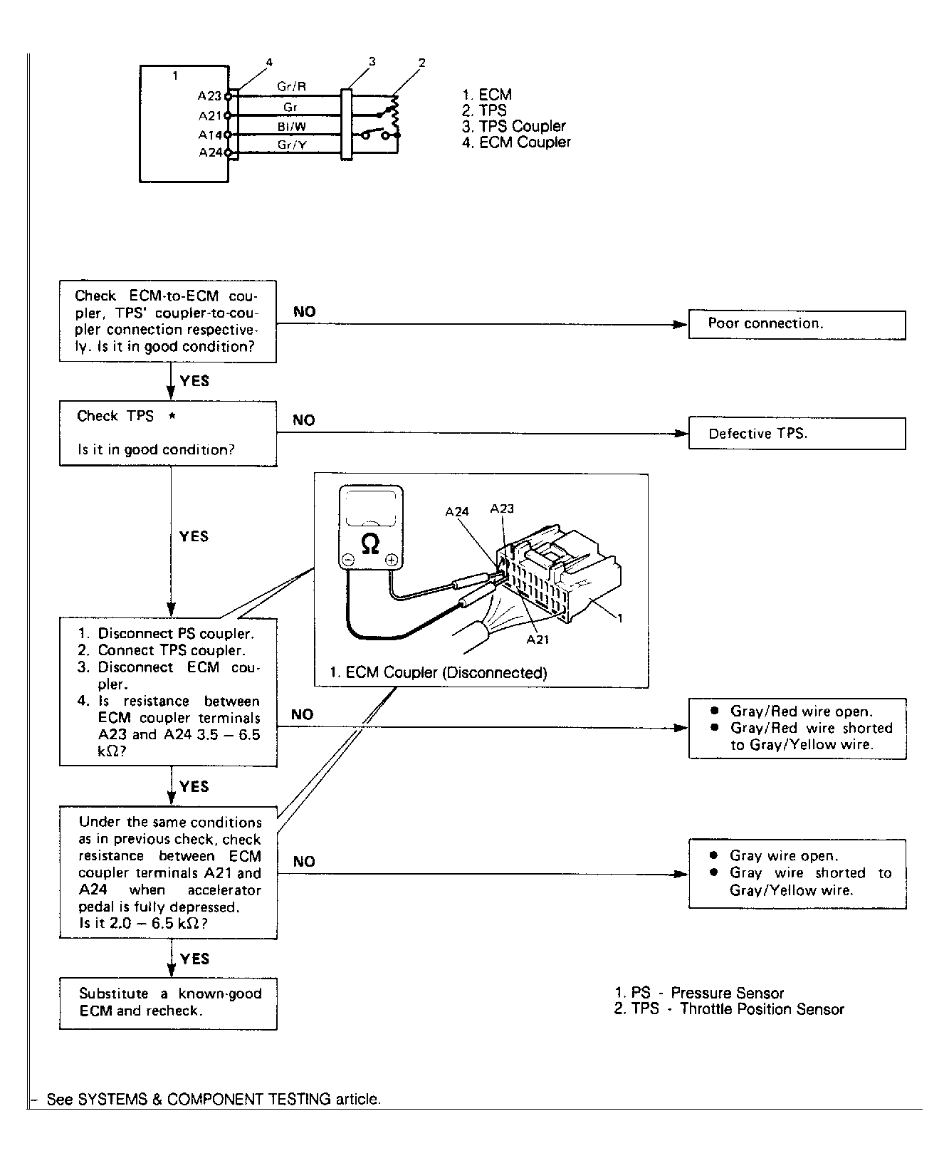
Code 22 - Throttle Position Sensor Circuit Indication Low

Fig 1: Code 22 Circuit Diagram & Flow Chart
G119595Courtesy of SUZUKI OF AMERICA CORP.