LEMON Manuals: Even more car manuals for everyone: 1960-2025
Home >> Suzuki >> 1995 >> Sidekick JS, 4D Utility, Automatic >> Repair and Diagnosis >> Engine Performance >> System >> Engine Controls - Basic Testing >> Ignition Checks >> Camshaft/Crankshaft Position Sensor >> MFI
April 5, 2026: LEMON Manuals is launched! Read the announcement.

Camshaft/Crankshaft Position Sensor: MFI

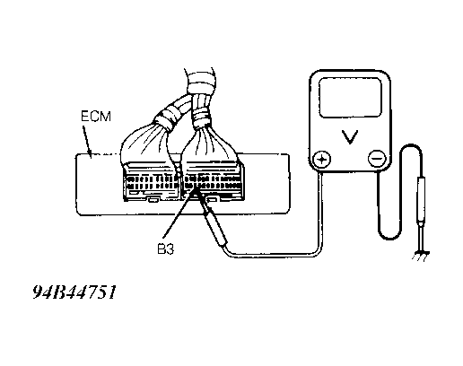
  1. Access ECM wiring connectors (leave connected). Connect voltmeter between ECM connector terminal B3 and ground. See Fig 1 . Remove distributor cap, rotor and guard.
  2. Rotate distributor shaft so signal rotor is in between magnet and Hall Effect pick-up. Turn ignition switch on. Voltmeter should read 0-1 volt. Rotate distributor so signal rotor is not between magnet and Hall Effect pick-up. Voltmeter should read 3-5 volts. Replace camshaft/crankshaft position sensor assembly if any reading is not as specified.
Fig 1: Testing CMP/CKP Sensor (MFI)
G94B44751Courtesy of SUZUKI OF AMERICA CORP.
CMP/CKP SENSOR RESISTANCE - Ohms @ 68°F (20°C)

Application Ohms
Sidekick (1)
(1) Information not available at time of publication.
PICK-UP COIL AIR GAP

Application In. (mm)
Sidekick (1)
(1) Not adjustable.