LEMON Manuals: Even more car manuals for everyone: 1960-2025
Home >> Suzuki >> 1995 >> Swift Automatic >> Repair and Diagnosis >> Engine Performance >> System >> Engine Controls - System/Component Tests >> Fuel System >> Fuel Delivery >> Fuel Pump Circuit Test
April 5, 2026: LEMON Manuals is launched! Read the announcement.

Fuel Pump Circuit Test

  1. With ignition on and engine off, listen for operating sound of fuel pump. Pump should run for 2 seconds after switch is turned on. If operating sound is not heard, go to next step. If operating sound is heard for 2 seconds, fuel pump circuit is okay.
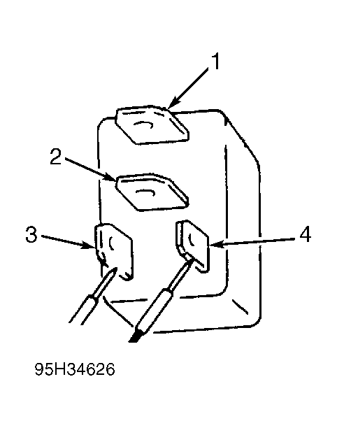
  2. Remove fuel pump relay. See Figure . Install jumper wire between terminals No. 1 and 2. See Figure . If pump operates with ignition on, go to step 4).
  3. If pump does not operate, check continuity of Pink wire between fuel pump relay and pump (in tank). If continuity exists, replace pump. If continuity does not exist, repair circuit.
  4. Check fuel pump relay. See RELAYS  under RELAYS & SOLENOIDS. If fuel pump relay is okay, check continuity of Pink/White wire between fuel pump relay and ECM connector terminal A17. If circuit is okay, replace ECM.