LEMON Manuals: Even more car manuals for everyone: 1960-2025
Home >> Suzuki >> 1996 >> Swift Standard >> Repair and Diagnosis >> Engine Performance >> System >> Engine Controls - Basic Testing >> Ignition Checks >> IGNITOR (Power Unit) >> Swift
April 5, 2026: LEMON Manuals is launched! Read the announcement.

IGNITOR (Power Unit): Swift

  1. Turn ignition on. Using a voltmeter, check for battery voltage at ignition coil between coil positive terminal (Black/White wire) and ground. If battery voltage does not exist, check ignition fuse circuit.
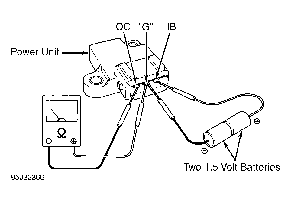
  2. To test ignitor, turn ignition off. Remove ignitor from its bracket. Connect two 1.5-volt batteries in series (3 volts). Connect a jumper wire from ignitor terminal "G" to negative side of batteries. Connect another jumper wire from ignitor terminal IB to positive side of batteries. See Fig 1 .
  3. Using an ohmmeter, connect positive lead to ignitor terminal "G" and negative lead to ignitor terminal OC. See Fig 1 . Check for continuity with voltage from batteries applied. Continuity should not exist with batteries disconnected from ignitor. Replace ignitor if continuity is not as specified.
Fig 1: Testing Ignitor (Swift)
G95J32366Courtesy of SUZUKI OF AMERICA CORP.