LEMON Manuals: Even more car manuals for everyone: 1960-2025
Home >> Suzuki >> 1997 >> Swift Automatic >> Repair and Diagnosis >> External Pages >> Different car >> Section 43 (Data Communication System) >> Schematic & Routing Diagram >> Data Communication Connector End Views >> Body Control Module (BCM) C3
April 5, 2026: LEMON Manuals is launched! Read the announcement.

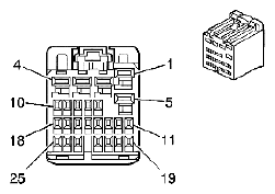
Body Control Module (BCM) C3

WARNING: This page is about a different car, the 2007 Suzuki XL7. However, it is still accessible from the selected car via links, so may be relevant.
Fig 1: Body Control Module (BCM) C3 - Connector Pin Locations
G04844984Courtesy of SUZUKI OF AMERICA CORP.

Connector Part Information 

OEM: HITPB-25-C-LE

Service: -

Description: 25-Way F HIT Series (L-BU)

Terminal Part Information 

Pins: 1, 2, 3, 5

Terminal/Tray: SNAC-A061T-M2.8/20

Core/Insulation Crimp: E/A

Release Tool/Test Probe: 12094429/J-35616-4A (PU)

Pins: 7, 8, 9, 10, 11, 12, 13, 14, 15, 16, 17, 18, 19, 21, 22

Terminal/Tray: SNAC3-A021T-M0.64/20

Core/Insulation Crimp: J/J

Release Tool/Test Probe: 12094429/J-35616-64B (L-BU)

BODY CONTROL MODULE (BCM) C3 CONNECTOR TERMINAL INFORMATION

Pin Wire Color Circuit No. Function
1 BK/WH 1551 Ground
2 RD/WH 240 Battery Positive Voltage
3 RD/WH 1040 Battery Positive Voltage
4 - - Not Used
5 BK/WH 1551 Ground
6 - - Not Used
7 YE 749 Security Indicator Control
8 TN/BK 2500 High Speed GMLAN Serial Data Bus+
9 TN 2501 High Speed GMLAN Serial Data Bus-
10 D-GN 5060 Low Speed GMLAN Serial Data
11 D-GN 44 Instrument Panel Lamps Dimmer Switch Signal
12 OG/WH 812 12-Volt Reference or IP Dimming Voltage Reference
13 D-BU 6037 Brake Pedal Displacement Sensor Signal
14 OG/BK 6035 Brake Pedal Displacement Sensor Low Reference
15 GY 6036 Brake Pedal Displacement Sensor 5 Volt Reference
16 TN/BK 2500 High Speed GMLAN Serial Data Bus+
17 TN 2501 High Speed GMLAN Serial Data Bus-
18 PU/WH 1382 LED Dimming Signal/LED Dimming Supply
19 L-BU 5986 Serial Data Communication Enable
20 - - Not Used
21 OG 192 Front Fog Lamp Switch Signal/Fog Lamps Enable
22 GN/WH 7158 Cruise Control Indicator Dimming Signal
23-25 - - Not Used