LEMON Manuals: Even more car manuals for everyone: 1960-2025
Home >> Suzuki >> 1997 >> Swift Automatic >> Repair and Diagnosis >> External Pages >> Different car >> Section 43 (Data Communication System) >> Schematic & Routing Diagram >> Data Communication Connector End Views >> Body Control Module (BCM) C4
April 5, 2026: LEMON Manuals is launched! Read the announcement.

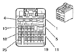
Body Control Module (BCM) C4

WARNING: This page is about a different car, the 2007 Suzuki XL7. However, it is still accessible from the selected car via links, so may be relevant.
Fig 1: Body Control Module (BCM) C4 - Connector Pin Locations
G04844985Courtesy of SUZUKI OF AMERICA CORP.

Connector Part Information 

OEM: HITPB-25-D-K

Service: -

Description: 25-Way F Receptacle 0.64 2.8 (BK)

Terminal Part Information 

Pins: 1, 2, 3, 4, 5

Terminal/Tray: See Suzuki Terminal Repair Kit

Core/Insulation Crimp: See Suzuki Terminal Repair Kit

Release Tool/Test Probe: See Suzuki Terminal Repair Kit

Pins: 7, 9, 10, 11, 12, 13, 15, 16, 17, 19, 21, 22, 23

Terminal/Tray: SNAC3-A021T-M0.64/20

Core/Insulation Crimp: J/J

Release Tool/Test Probe: 12094429/J-35616-64B (L-BU)

BODY CONTROL MODULE (BCM) C4 CONNECTOR TERMINAL INFORMATION

Pin Wire Color Circuit No. Function
1 RD/WH 340 Battery Positive Voltage
2 RD/WH 240 Battery Positive Voltage
3 RD/WH 440 Battery Positive Voltage
4 RD/WH 1240 Battery Positive Voltage
5 D-BU/WH 1315 Right Front Turn Signal Lamp Supply Voltage
6 - - Not Used
7 YE 196 Windshield Wiper Motor Park Switch Signal
8 - - Not Used
9 BK 50 Ground
10 RD/WH 2440 Battery Positive Voltage
11 D-GN/WH 1317 Fog Lamp Relay Control (T96)
12 YE 5187 Right Trailer Turn Signal Lamp (V92)
13 OG 5186 Left Trailer Turn Signal Lamp (V92)
14 - - Not Used
15 OG 2268 Windshield Washer Relay Control
16 TN/WH 1969 Headlamp High Beam Relay Control
17 PK/BK 109 Hood Ajar Switch Signal (AP3)
18 - - Not Used
19 BN 4 Accessory Voltage
20 - - Not Used
21 PK 1439 Ignition 1 Voltage
22 YE 5704 Endgate Latch Relay Coil Control
23 PU 544 Headlamp Low Beam Supply Voltage
24-25 - - Not Used