LEMON Manuals: Even more car manuals for everyone: 1960-2025
Home >> Suzuki >> 1998 >> Sidekick JS 2D 2WD L4-1.6L >> Repair and Diagnosis >> Powertrain Management >> Computers and Control Systems >> Description and Operation >> Fuel Pump Control System
April 5, 2026: LEMON Manuals is launched! Read the announcement.

Fuel Pump Control System





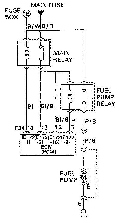
FUEL PUMP CONTROL SYSTEM
ECM controls ON/OFF operation of the fuel pump by turning it ON via the fuel pump relay under one of the following conditions.
- For 3 seconds after ignition switch ON.
- While engine start signal is inputted to ECM.
- While CMP sensor signal is inputted to ECM.