LEMON Manuals: Even more car manuals for everyone: 1960-2025
Home >> Suzuki >> 2002 >> Esteem GLX Sedan L4-1.8L >> Repair and Diagnosis >> Transmission and Drivetrain >> Automatic Transmission/Transaxle >> Service and Repair >> Unit Repair >> Unit Assembly
April 5, 2026: LEMON Manuals is launched! Read the announcement.

Unit Assembly

Assembly
1. Apply lithium grease to new oil seal lip section.
2. Install new oil seal to transmission case.





3. Insert manual valve lever shaft (1) to transmission case.
4. Install new spacer (3) and manual valve lever (2) to manual valve lever shaft.
5. Install new slotted spring pin (4).





6. Rotate new spacer approximately 180 degrees.
7. Stake small hole of new spacer.





8. Press counter drive gear (1), using special tools.
Special tool
(A): 09924-74510
(B): 09926-68310





9. Install snap ring (1) to angular ball bearing.
10. Coat new O-rings with A/T fluid.





11. Place 1st and reverse brake piston (1) with O-rings installed.

NOTE: Be careful not to damage O-rings during piston installation.





12. Mount brake piston return spring (2).
13. Install retainer ring by compressing brake piston return spring with flat drivers or the like.
14. Install brake flanges "F" disc/clutch and flanges "D" and brake plates in the following order.
F --> D --> P --> D --> P --> D --> P --> D --> F





15. Install snap ring (1).

NOTE: Make sure that opening end of snap ring should be aligned with protrusion of transmission case.





16. Install special tools on transmission. Measure 1st and reverse brake piston stroke by applying and releasing compressed air (400 - 800 kPa, 4 - 8 kgf/cm2, 57 - 113 psi) through oil hole section (A).
Special tool
(A): 09900-20606
(B): 09900-20701
Specified value of 1st and reverse brake piston stroke: 1.40 - 2.20 mm (0.055 - 0.087 inch)
17. Place compression spring for 2nd and 4th brake into transmission case.
18. Apply A/T fluid to new O-rings.
19. Assemble 2nd and 4th brake piston assembly.





a. Install rod washer (4), spring (3), brake piston (2) and new E-ring (1) to brake piston rod (5).





b. Install brake inner cover (1) and new O-rings (2).
20. Put 2nd and 4th brake piston spring in transmission case and insert piston assembly and brake inner cover into case.
21. Apply valve lifter as shown in figure and push piston cover.
Special tool
(A): 09916-14510
(B): 09916-8210





22. Install snap ring by using snap ring pliers (special tool), and remove special tools (A) and (B).
Special tool (C): 09900-06108





23. Check 2nd and 4th brake piston stroke. If its stroke is out of specification, select proper piston rod of 5 type (1) - (5) instead of original one and reinstall 2nd and 4th brake piston assembly so as to be within specification.





24. Install brake cover to transmission case with snap ring, using snap ring pliers.
Special tool (A): 09900-06108





NOTE: It is best for the head section of piston rod (head section) (1) to protrude from the inner side of transmission case approximately 2 - 3 mm (0.079 - 0.118 inch).

25. Apply A/T fluid to outer surface of three pins.





26. Insert three pins (1) to transmission case.
27. Apply A/T fluid to transmission lubrication tube (1).
28. Install transmission lubrication tube.





29. Tighten clamp with bolt.
Tightening torque
Transmission lubrication tube clamp bolt (a): 5.5 Nm (0.55 kgf-m, 4.0 ft. lbs.)
30. Install 2nd and 4th brake band (1).





31. Install 1st and reverse clutch assembly (2).





32. Temporarily tighten bolts of oil pump body (1).





33. Temporarily tighten transmission housing to transmission case with 5 - 6 bolts.
34. Stand transmission up (i.e.: transmission housing facing downward).
35. Install front and rear planetary carrier (1) while rotating counterclockwise and clockwise.
36. Install sun gear (2) with needle roller bearing (3).
Bearing race dimension
Outside diameter: Approximately 32.2 mm (1.27 inch)
Inside diameter: Approximately 18.9 mm (0.74 inch)
Thickness: Approximately 2.6 mm (0.10 inch)





37. Coat race (4) with grease.
"A": Grease (SUZUKI SUPER GREASE C) 99000-25030
38. Install race to planetary carrier.





39. Install overdrive/coast clutch (1) while rotating counter clockwise and clockwise.

NOTE: Check to make sure that overdrive/coast clutch locks when turned counterclockwise (A) and moves freely when turned clockwise (B).

40. Install forward clutch while rotating.





41. Check for correct installation of each component parts as follows. Measure the distance "a" by using vernier (1) and straightedge (2). If out of specification, remove forward clutch, overdrive/coast clutch, front and rear planetary carrier and reinstall them properly.
Distance between top of the forward clutch drum and transmission case "a": 46.94 - 47.81 mm (1.848 - 1.882 inch)





42. Apply sealant to contacting surface of transmission case.
"A": Sealant 99000-31160
43. Install five gaskets (2).

NOTE: There is no installation direction for new gaskets.





44. Tighten transmission rear cover (1) and engine mounting LH bracket (2) with ten (two new bolts (3)) bolts.
Tightening torque
Engine mounting LH bracket bolt (a): 25 Nm (2.5 kgf-m, 18.0 ft. lbs.)
45. Turn over transmission.
46. Remove transmission housing.
47. Remove oil pump body, 1st and reverse clutch and 2nd and 4th brake band from transmission case.





48. Apply A/T fluid to race with integrated needle roller bearing (1).
Race dimension
Outside diameter: Approximately 65.8 mm (2.59 inch)
Inside diameter: Approximately 51.0 mm (2.01 inch)
Thickness: Approximately 2.7 mm (0.11 inch)
49. Install counter driven gear.
50. Install parking lock rod (2) with parking lock pawl (1), parking lock pawl bracket (3) and torsion spring (5).
51. With spacer and torsion spring placed, install bolt and tighten parking lock pawl bracket.
Tightening torque
Parking lock pawl bracket bolt (a): 10 Nm (1.0 kgf-m, 7.5 ft. lbs.)





52. Insert parking lock rod to parking lock pawl bracket and connect parking lock rod with manual valve lever.
53. Install 2nd and 4th brake band (1).





54. Install 1st and reverse clutch (2) while rotating counterclockwise and clockwise.





55. Check for correct installation of input shaft (3) as follows. Measure the distance "a" by using vernier (1) and straightedge (2). If out of specification, remove input shaft with 1st and reverse clutch and reinstall them properly.
Distance between top of the input shaft and transmission case "a": 85.65 - 86.39 mm (3.372 - 3.401 inch)





56. Tighten manual detent spring (1) with bolts.
Tightening torque
Manual detent spring bolt (a): 10 Nm (1.0 kgf-m, 7.5 ft. lbs.)

NOTE: It is recommended to set to neutral position between spring detent and lever manual valve and then tighten bolts (2).

57. Install oil strainer (1).





58. Tighten oil reservoir plate (2) with bolts.
Tightening torque
Oil reservoir plate bolt (a): 5.5 Nm (0.55 kgf-m, 4.0 ft. lbs.)
59. Install three new gaskets (1).
60. Install differential gear assembly (2).
61. Tighten oil pump body (3) with six bolts.
Tightening torque
Oil pump body bolt (a): 25 Nm (2.5 kgf-m, 18.0 ft. lbs.)
62. Wipe off and clean contacting surface between case and housing.





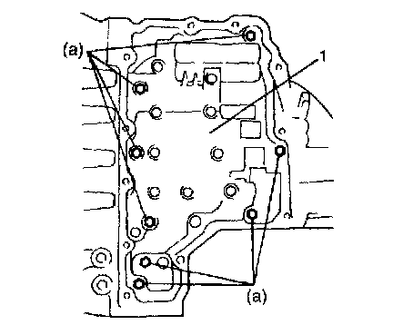
63. Apply sealant to transmission case as shown in the figure.
"A": Sealant 99000-31160





64. Tighten transmission housing to transmission case with bolts.
Tightening torque
Transmission housing bolt (a): 30 Nm (3.0 kgf-m, 22.0 ft. lbs.)

NOTE: Check to make sure that new bolts are used for bolts indicated as (1) in figure.

65. Insert wiring harness (1) of solenoid connectors.





66. Coat two new gaskets (2) with A/T fluid and place them as shown in figure.
67. While holding valve body assembly, connect manual valve to parking lock rod.





68. Tighten valve body assembly (1) with bolts.
Tightening torque
Valve body bolt (a): 10 Nm (1.0 kgf-m, 7.5 ft. lbs.)
69. Clamp wiring harness of solenoid and A/T fluid temp. sensor.





70. Connect couplers of solenoid and install A/T fluid temp. sensor to its clamp (1).

NOTE:
^ Check to make sure that couplers are connected properly. (No.1 shift solenoid (3)-white, No.2 shift solenoid (4)-blue and lock-up control solenoid (5)-yellow).
^ There is an interchangeability between No.1 and No.2 shift solenoids for installation.

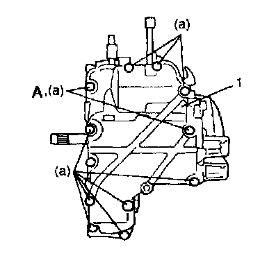
71. Wipe off and clean contacting surface between case and side cover.





72. Apply sealant to transmission case by using a nozzle as shown in the figure by such amount that its selection is 1.5 mm (0.059 inch) in diameter.
"A": Sealant (SUZUKI BOND No.1216) 99000-31160





73. Tighten transmission side cover (1) with bolts.
Tightening torque
Transmission side cover bolt (a): 18 Nm (1.8 kgf-m, 13.0 ft. lbs.)

NOTE: Check to make sure that new bolts are used for bolts indicated as (A) in figure.

74. Coat new O-rings with A/T fluid.





75. Tighten the following parts (with new O-rings installed) with bolts.
^ Solenoid coupler (1)
^ Output shaft speed sensor (2)
^ Input shaft speed sensor (3)
^ Oil filler tube (4)
Tightening torque
Solenoid coupler/Output shaft speed sensor/Input shaft speed sensor mounting bolt (a): 5.5 Nm (0.55 kgf-m, 4.0 ft. lbs.)
76. Coat new O-ring with A/T fluid.





77. Tighten speedometer driven gear (vehicle speed sensor for speedometer) (1) (with new O-ring installed) with bolt.
Tightening torque
Speedometer driven gear mounting bolt (a): 5.5 Nm (0.55 kgf-m, 4.0 ft. lbs.)





78. Install transmission range sensor.
a. Place new rubber plate and new lock washer or shift switch (1).
b. Tighten lock nut (4).
Tightening torque
Lock nut (a): 7.0 Nm (0.7 kgf-m, 5.0 ft. lbs.)
c. Adjust transmission range sensor.
d. Tighten transmission range sensor bolts (2).
Tightening torque
Transmission range sensor bolt (b): 20 Nm (2.0 kgf-m, 14.5 ft. lbs.)
e. Tighten manual shift lever (5) with spring washer and nut.
Tightening torque
Manual shift lever nut: 20 Nm (2.0 kgf-m, 14.5 ft. lbs.)





79. Install oil cooler pipes (1) with new washer (2).
Tightening torque
A/T fluid pipe union bolt (a): 27 Nm (2.7 kgf-m, 19.5 ft. lbs.)
A/T side cover bolt (b): 18 Nm (1.8 kgf-m, 13.0 ft. lbs.)
80. Measure starting torque of differential gear assembly.





81. Install torque converter to input shaft.
a. Install torque converter (1), using care not to damage oil seal of oil pump.
b. After installing torque converter, check to make sure that distance "a" is within specification.
Distance between end of the transmission housing and flange nut of torque converter "a": More than 21.4 mm (0.84 inch)
c. Check torque converter for smooth rotation.

CAUTION:
^ Before installing converter, make sure that its pump hub portion is free from nicks, burrs or damage which may cause oil seal to leak.
^ Be very careful not to drop converter on oil pump gear. Damage in gear, should it occur, may cause a critical trouble.