LEMON Manuals: Even more car manuals for everyone: 1960-2025
Home >> Suzuki >> 2004 >> Forenza LX, Automatic >> Repair and Diagnosis >> Brakes >> Traction Control >> Anti-Lock Brake System >> Diagnostic Information and Procedures >> DTC C0550: ABS Control Module Internal Fault >> Notes
April 5, 2026: LEMON Manuals is launched! Read the announcement.

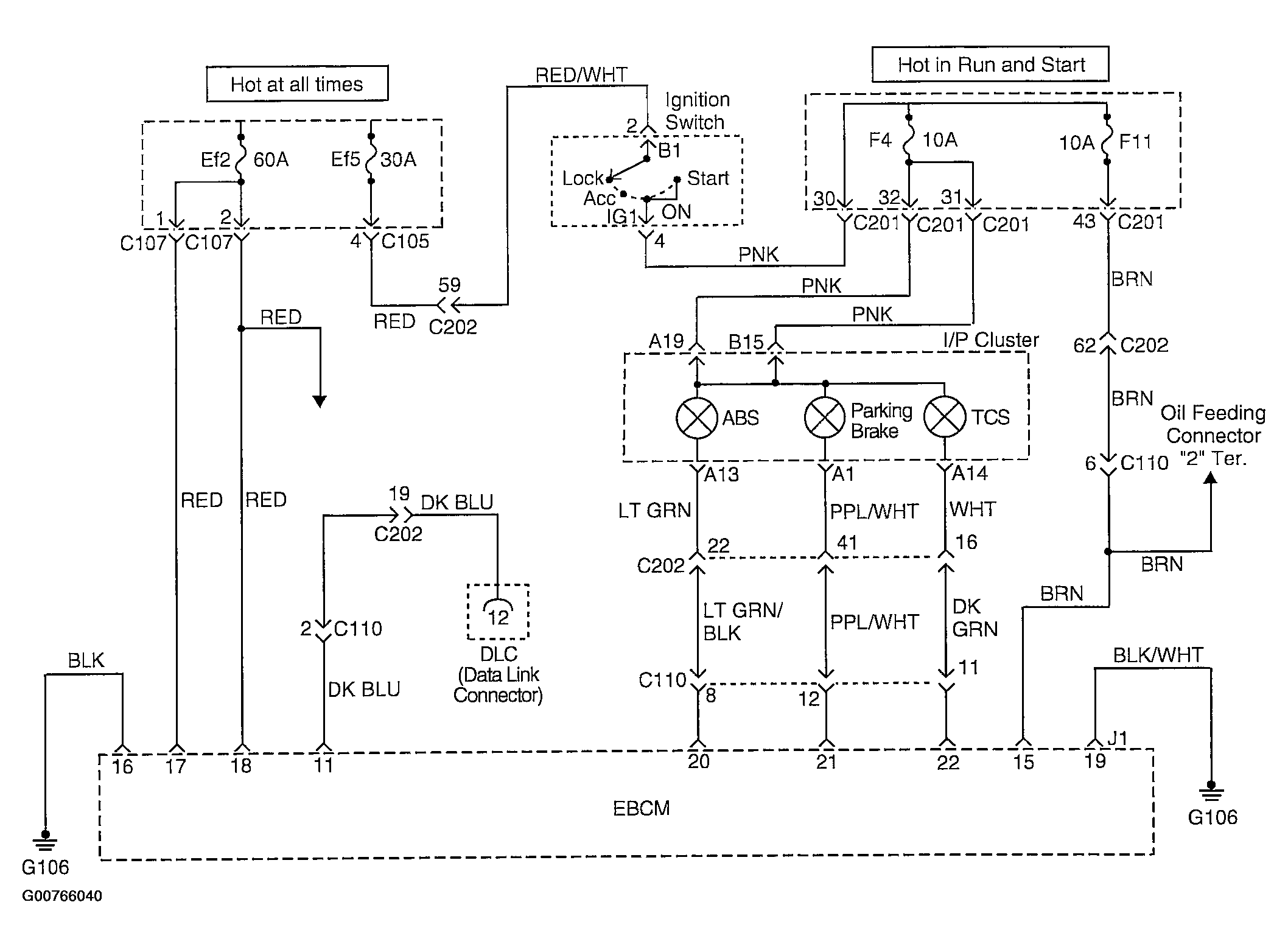
DTC C0550: ABS Control Module Internal Fault: Notes

Fig 1: DTC C0550 ABS Control Module Internal Fault - Diagnostic Wiring Diagram
G00766040Courtesy of SUZUKI OF AMERICA CORP.