LEMON Manuals: Even more car manuals for everyone: 1960-2025
Home >> Suzuki >> 2005 >> Aerio L4-2.3L >> Repair and Diagnosis >> Relays and Modules >> Relays and Modules - Restraints and Safety Systems >> Air Bag Control Module >> Service and Repair
April 5, 2026: LEMON Manuals is launched! Read the announcement.

Air Bag Control Module: Service and Repair

SDM Removal and Installation

WARNING: During service procedures, be very careful when handling a Sensing and Diagnostic Module (SDM). Be sure to read Precautions on Service and Diagnosis of Air Bag System before starting to work and observe every precaution during work. Neglecting them may result in personal injury or inactivation of the air bag system when necessary.

Removal




1. Disconnect negative cable at battery.
2. Disable air bag system. Refer to Air Bag(s) Arming and Disarming.
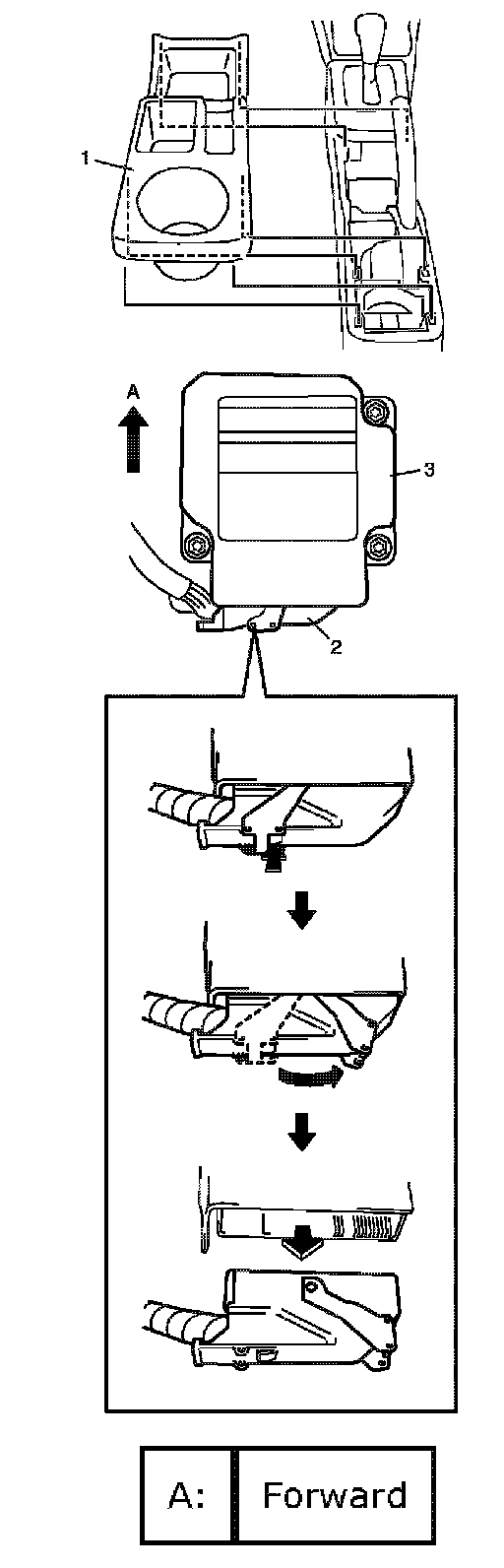
3. Remove center console box upper cover.
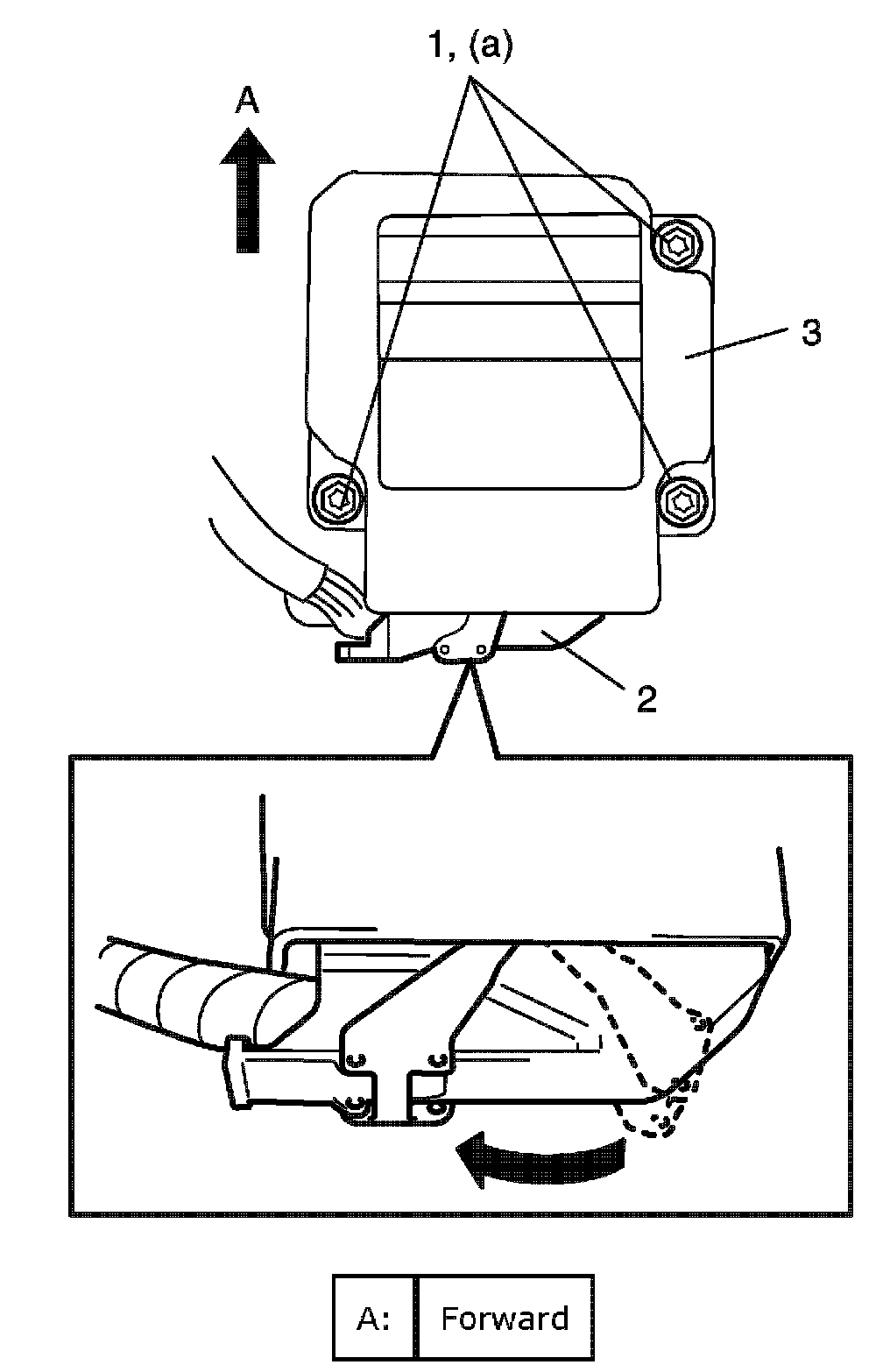
4. Disconnect SDM connector (2) from SDM (3).
5. Remove SDM (3) from vehicle.

Installation

Reference: SDM Inspection




1. Check that none of the following faulty conditions exists.
- Bend, scratch, deformity in vehicle body where SDM is mounted.
- Foreign matter or rust on mating surface of vehicle body where SDM is mounted.
2. Install SDM (2) to vehicle.

CAUTION: Ensure that arrow on the SDM is pointing toward the front of the vehicle.

3. Tighten SDM bolts to specified torque.

Tightening torque
SDM bolt a: 7 N.m (0.7 kg-m, 5.0 lb-ft)

4. Connect SDM connector (1) to SDM (2) securely.
5. Install center console box upper cover.
6. Enable air bag system. Refer to Air Bag(s) Arming and Disarming.
7. Connect negative cable at battery.