LEMON Manuals: Even more car manuals for everyone: 1960-2025
Home >> Suzuki >> 2005 >> Aerio LX, AWD >> Repair and Diagnosis >> Engine Performance >> Engine Control Systems >> Engine General Information And Diagnosis >> DTC P0461: Fuel Level Sensor Circuit Range/Performance Problem >> Wiring Diagram
April 5, 2026: LEMON Manuals is launched! Read the announcement.

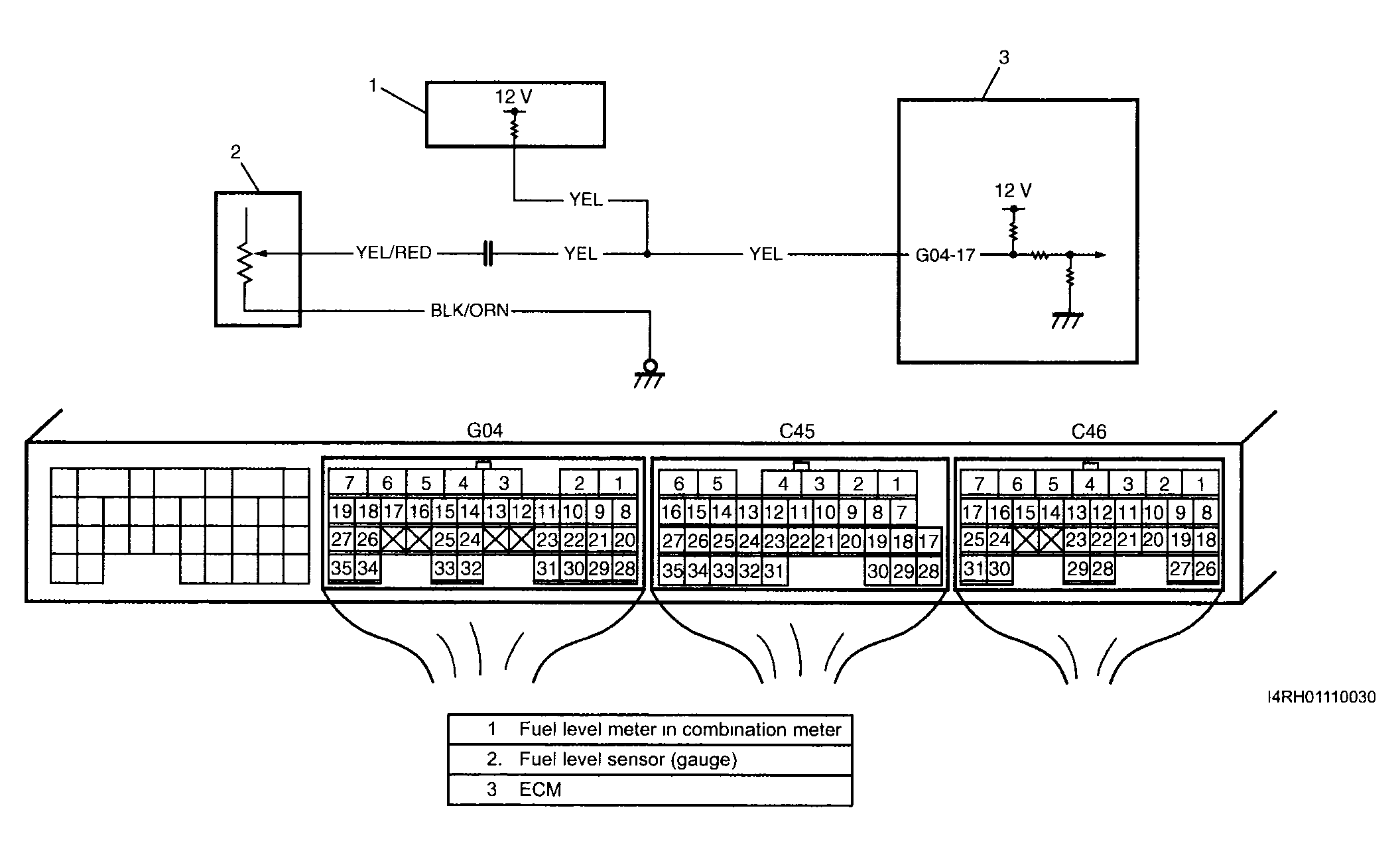
DTC P0461: Fuel Level Sensor Circuit Range/Performance Problem: Wiring Diagram

Fig 1: Fuel Level Sensor Circuit - Wiring Diagram (DTC P0461)
G04013739Courtesy of SUZUKI OF AMERICA CORP.