LEMON Manuals: Even more car manuals for everyone: 1960-2025
Home >> Suzuki >> 2005 >> Reno EX >> Repair and Diagnosis >> Engine Performance >> Engine Control Systems >> Engine General Information And Diagnosis >> Diagnostic Information and Procedures >> DTC P0141 Oxygen Sensor 2 (O2S2) Heater Circuit Not Functioning >> Notes
April 5, 2026: LEMON Manuals is launched! Read the announcement.

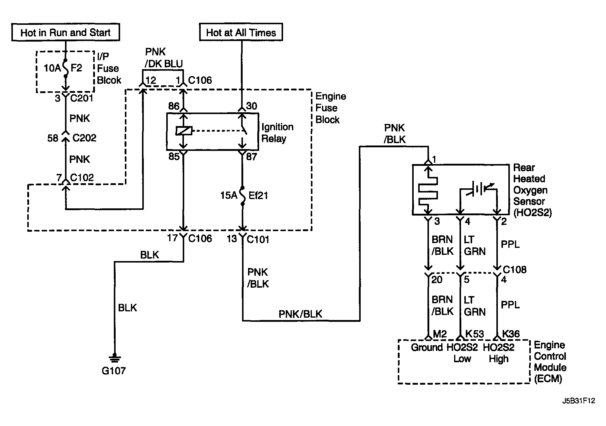
DTC P0141 Oxygen Sensor 2 (O2S2) Heater Circuit Not Functioning: Notes

Fig 1: Oxygen Sensor 2 (O2S2) Heater Circuit Not Functioning - Circuit Diagram
G04102538Courtesy of SUZUKI OF AMERICA CORP.