LEMON Manuals: Even more car manuals for everyone: 1960-2025
Home >> Suzuki >> 2005 >> Reno EX >> Repair and Diagnosis >> Transmission >> Automatic Trans >> Automatic Transmission >> Diagnostic Information and Procedures >> DTC P0603 Internal Control Module Keep Alive Memory (KAM) Error >> Notes
April 5, 2026: LEMON Manuals is launched! Read the announcement.

DTC P0603 Internal Control Module Keep Alive Memory (KAM) Error: Notes

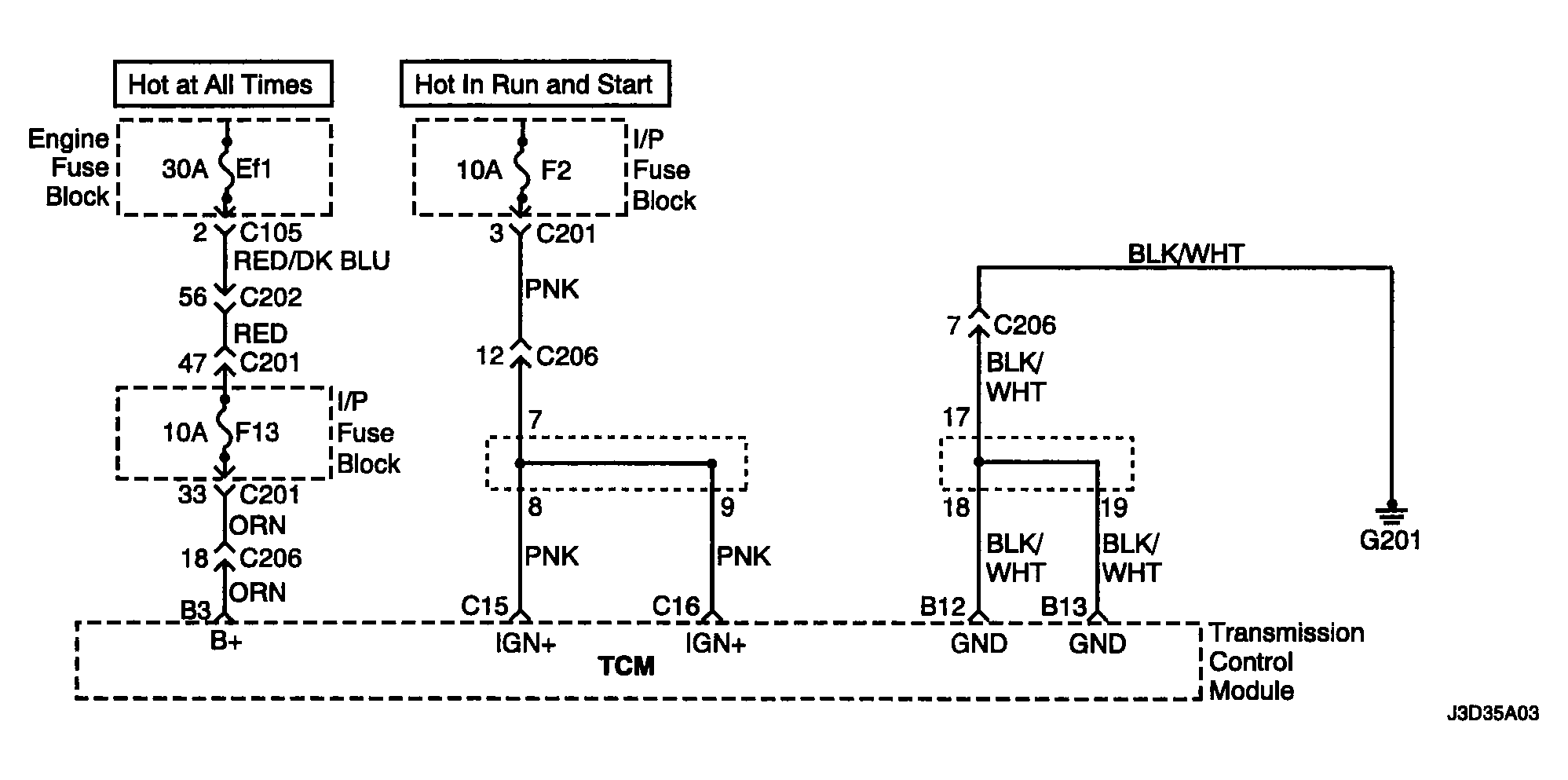
Fig 1: DTC P0603 Internal Control Module Keep Alive Memory (KAM) Error Circuit
G04103458Courtesy of SUZUKI OF AMERICA CORP.