LEMON Manuals: Even more car manuals for everyone: 1960-2025
Home >> Suzuki >> 2005 >> Swift + >> Repair and Diagnosis >> External Pages >> Different car >> Section 9 (Lighting Systems) >> Component Locator >> Lighting Systems Connector End Views (Notchback)
April 5, 2026: LEMON Manuals is launched! Read the announcement.

Lighting Systems Connector End Views (Notchback)

WARNING: This page is about a different car, the 2008 Suzuki Swift +, 2008 Pontiac Wave, and 2008 Chevrolet Aveo. However, it is still accessible from the selected car via links, so may be relevant.
Ashtray Lamp (Optional)

GM1467074Courtesy of GENERAL MOTORS CORP.
Connector Part Information
  • MG 610070
  • 2-Way F 090 (2.3 mm) Series (WH)
Pin Wire Circuit Function
1 BN/WH - Illumination Supply Voltage
2 BK - Ground
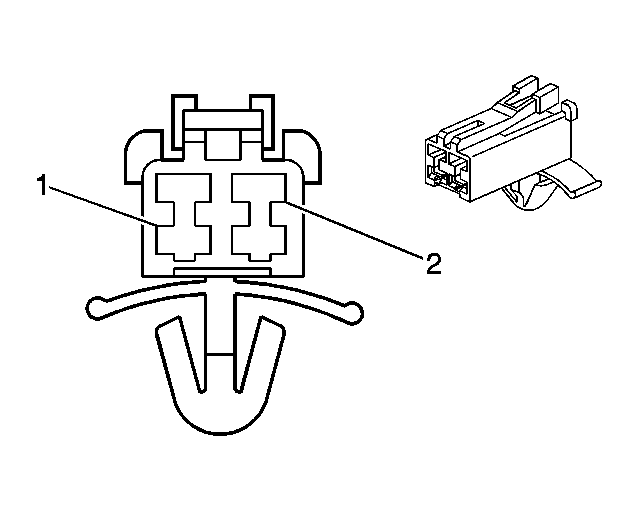
Backup Lamp Switch (1.6L) (M/T)

GM635009Courtesy of GENERAL MOTORS CORP.
Connector Part Information
  • ZPF 2-3 or AK 7207
  • 2-Way F
Pin Wire Circuit Function
A BN - Ignition 2 Voltage
B L-GN - Backup Lamp Supply Voltage
Center High Mounted Stop Lamp

GM1467036Courtesy of GENERAL MOTORS CORP.
Connector Part Information
  • MG 610392
  • 2-Way F Series Sealed (WH)
Pin Wire Circuit Function
1 L-BU - Stop Lamp Supply Voltage/Stop Lamp Switch Signal
2 BK - Ground
Courtesy/Reading Lamp (w/o Sunroof)

GM1467049Courtesy of GENERAL MOTORS CORP.
Connector Part Information
  • MG 610489
  • 2-Way F 090 (2.3 mm) Series
Pin Wire Circuit Function
1 GY - Courtesy Lamp Control
2 RD/WH - Ignition 3 Voltage
Fog Lamp - Left Front

GM1467028Courtesy of GENERAL MOTORS CORP.
Connector Part Information
  • 12124819
  • 2-Way F Metri-Pack 280 Series Sealed (BK)
Pin Wire Circuit Function
1 YE - Fog Lamp Supply Voltage
2 BK - Ground
Fog Lamp - Right Front

GM1467028Courtesy of GENERAL MOTORS CORP.
Connector Part Information
  • 12124819
  • 2-Way F Metri-Pack 280 Series Sealed (BK)
Pin Wire Circuit Function
1 YE - Fog Lamp Supply Voltage
2 BK - Ground
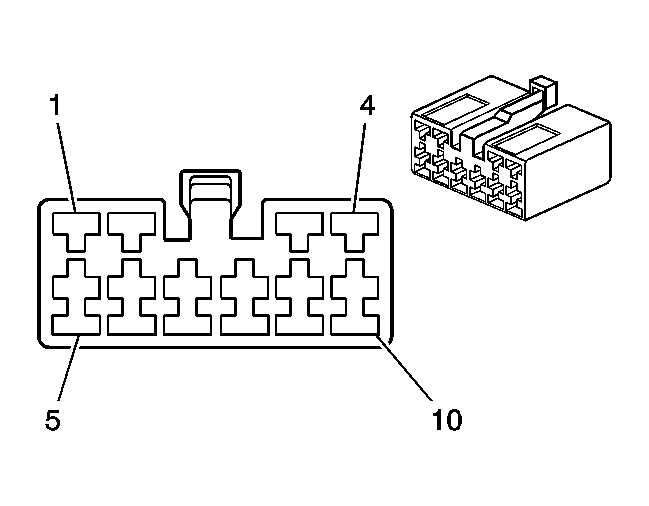
Hazard Switch

GM1467018Courtesy of GENERAL MOTORS CORP.
Connector Part Information
  • MG 610056
  • 10-Way F 090 (2.3 mm) Series (WH)
Pin Wire Circuit Function
1 - - Not Used
2 BN/WH - Instrument Panel Lamps Dimming Control (w/Dimming)
3 BN/WH - Illumination Supply Voltage
4 - - Not Used
5 L-BU - Left Turn Signal Lamps Supply Voltage
6 D-BU - Right Turn Signal Lamps Supply Voltage
7 L-BU - Turn Signal Flasher Signal
8 RD/WH - Battery Positive Voltage
9 PU - Turn Signal Switch Signal
PU
10 PK - Ignition Voltage
Headlamp - Left

GM1481284Courtesy of GENERAL MOTORS CORP.
Connector Part Information
  • OPES-PH2
  • 3-Way Connector F (WH)
Pin Wire Circuit Function
1 BN/WH - Left Headlamp High Beam Supply Voltage
2 L-GN/BK - Left Headlamp Low Beam Supply Voltage
3 BK - Ground
Headlamp - Right

GM1481284Courtesy of GENERAL MOTORS CORP.
Connector Part Information
  • OPES-PH2
  • 3-Way Connector F (WH)
Pin Wire Circuit Function
1 YE - Right Headlamp Low Beam Supply Voltage
2 D-GN/WH - Headlamp Leveling Motor Supply Voltage
3 BK - Ground
Headlamp Leveling Motor - Left (Except North America)

GM1258004Courtesy of GENERAL MOTORS CORP.
Connector Part Information
  • 164357
  • 3-Way
Pin Wire Circuit Function
1 BK - Ground
2 D-GN - Headlamp Leveling Motor Feed
3 PU - Park Lamp Feed - Left
Headlamp Leveling Motor - Right (Except North America)

GM1258004Courtesy of GENERAL MOTORS CORP.
Connector Part Information
  • 164357
  • 3-Way
Pin Wire Circuit Function
1 BK - Ground
2 D-GN - Headlamp Leveling Motor Feed
3 BN/WH - Park Lamp Feed - Right
Headlamp Leveling Switch (Except North America)

GM1468511Courtesy of GENERAL MOTORS CORP.
Connector Part Information
  • 5557-06R
  • 6-Way Mini Fit Conn. Rec. Housing (WH)
Pin Wire Circuit Function
1 BN/WH - Right Park Lamp Supply Voltage
2 L-GN/BK - Headlamp Low Beam Supply Voltage
3 D-GN - Headlamp Leveling Motor Supply Voltage
4 BN/WH - Ground
5 - - Not Used
6 BK - Ground
Headlamp Switch

GM1891429Courtesy of GENERAL MOTORS CORP.
Connector Part Information
  • MG 650887
  • 6-Way F 250 III Series (NA)
Pin Wire Circuit Function
1 BN/WH - Front Fog Relay Control
2 BK/WH - Headlamp Control
3 BK/WH - Ground
4 - - -
5 D-GN/WH - Front Fog Lamp Switch Signal
6 L-BU - Park Lamps Control
I/P Dimmer Switch

GM1467010Courtesy of GENERAL MOTORS CORP.
Connector Part Information
  • MG 610045
  • 3-Way F 250 Series (WH)
Pin Wire Circuit Function
1 BN/WH - Instrument Panel Lamps Dimming Control
2 BK - Ground
3 BN/WH - Right Park Lamp Supply Voltage
License Lamp

GM1467074Courtesy of GENERAL MOTORS CORP.
Connector Part Information
  • MG 630679
  • 2-Way F 090 (2.3 mm) Series (WH)
Pin Wire Circuit Function
1 BK - Ground
2 PU - Left Park Lamp Supply Voltage
Rear Compartment Lamp

GM1892155Courtesy of GENERAL MOTORS CORP.
Connector Part Information
  • 836277
  • 2-Way F (GY)
Pin Wire Circuit Function
1 RD/WH - Battery Voltage
2 GY/BK - Rear Compartment Lid Ajar Switch Signal
Shift Indicator Lamp

GM1467020Courtesy of GENERAL MOTORS CORP.
Connector Part Information
  • MG 610070
  • 2-Way F 090 (2.3 mm) Series (WH)
Pin Wire Circuit Function
1 BN/WH - Right Park Lamp Supply Voltage
2 BN/WH - Instrument Panel Lamps Dimming Control w/Dimming
Ground w/o Dimming
Stop Lamp Switch

GM1467027Courtesy of GENERAL MOTORS CORP.
Connector Part Information
  • MG 610267
  • 4-Way F 250 D/L Series (WH)
Pin Wire Circuit Function
1 PU - Stop Lamp Supply Voltage
2 L-BU - Stop Lamp Switch Output
3 PK - Ignition Positive Voltage
4 RD/WH - Battery Positive Voltage
Tail Lamp Assembly - Left

GM1761384Courtesy of GENERAL MOTORS CORP.
Connector Part Information
  • 936233-1
  • 8-Way F 090 Series (BK)
Pin Wire Circuit Function
1 OG - Rear Fog Lamp Supply Voltage (Euro - LHD)
2 BK - Ground
BK - Ground
3 BK - Ground
4 L-GN - Backup Lamp Feed
5 L-BU - Turn Signal Lamp Feed - Left
6 BN - Stop Lamp Supply Voltage
7 PU - Park Lamp Feed
PU - Park Lamp Feed
8 PU - Park Lamp Feed
Tail Lamp Assembly - Right

GM1761384Courtesy of GENERAL MOTORS CORP.
Connector Part Information
  • 936233-1
  • 8-Way F 090 Series (BK)
Pin Wire Circuit Function
1 OG - Rear Fog Lamp Supply Voltage (Euro-RHD)
2 BK - Ground
BK - Ground
3 BK - Ground
4 L-GN - Backup Lamp Feed
5 D-BU - Turn Signal Lamp Feed - Right
6 BN - Stop Lamp Supply Voltage
7 BN/WH - Park Lamp Feed
BN/WH - Park Lamp Feed
8 BN/WH - Park Lamp Feed
Turn Signal Lamp - Left Front (North America)

GM1830929Courtesy of GENERAL MOTORS CORP.
Connector Part Information
  • 936187-2
  • 3-Way F .090 Series
Pin Wire Circuit Function
1 PU - Park Lamp Feed
2 BK - Ground
3 L-BU - Left Turn Signal Supply Voltage
Turn Signal Lamp - Left Front (LHD/RHD)

GM1830934Courtesy of GENERAL MOTORS CORP.
Connector Part Information
  • 936184-2
  • 2-Way F .090 Series (BK)
Pin Wire Circuit Function
1 BK - Ground
2 L-BU - Left Turn Signal Supply Voltage
Turn Signal Lamp - Right Front (North America)

GM1830929Courtesy of GENERAL MOTORS CORP.
Connector Part Information
  • 936187-2
  • 3-Way F .090 Series
Pin Wire Circuit Function
1 BN/WH - Park Lamp Feed
2 BK - Ground
3 D-BU - Right Turn Signal Supply Voltage
Turn Signal Lamp - Right Front (LHD/RHD)

GM1830934Courtesy of GENERAL MOTORS CORP.
Connector Part Information
  • 936184-2
  • 2-Way F .090 Series (BK)
Pin Wire Circuit Function
1 BK - Ground
2 D-BU - Right Turn Signal Supply Voltage
Turn Signal/Multifunction Switch

GM1467023Courtesy of GENERAL MOTORS CORP.
Connector Part Information
  • MG 610203
  • 7-Way F 118 (PA) Series (BK)
Pin Wire Circuit Function
1 L-BU - Left Turn Signal Lamps Supply Voltage
2 PU - Turn Signal Flasher Signal
3 D-BU - Right Turn Signal Lamps Supply Voltage
4 L-BU - High Beam Relay Control
5 WH - Low Beam Relay Control
6 BK/WH - Headlamp Control
7 BK - Ground
BK/WH
Turn Signal Repeater Lamp - Left

GM1891421Courtesy of GENERAL MOTORS CORP.
Connector Part Information
  • MG 610320-5
  • 2-Way F SWP Series (BK)
Pin Wire Circuit Function
1 BK - Ground
2 L-BU - Left Turn Signal Supply Voltage
Turn Signal Repeater Lamp - Right

GM1891421Courtesy of GENERAL MOTORS CORP.
Connector Part Information
  • MG 610320-5
  • 2-Way F SWP Series (BK)
Pin Wire Circuit Function
1 BK - Ground
2 D-BU - Right Turn Signal Supply Voltage