LEMON Manuals: Even more car manuals for everyone: 1960-2025
Home >> Suzuki >> 2005 >> Verona EX >> Repair and Diagnosis (Single Page) >> Engine Performance >> Engine Control Systems >> Engine General Information And Diagnosis >> Diagnostic Information and Procedures >> DTC P0462 Fuel Level Sensor Low Input >> Notes
April 5, 2026: LEMON Manuals is launched! Read the announcement.

DTC P0462 Fuel Level Sensor Low Input: Notes

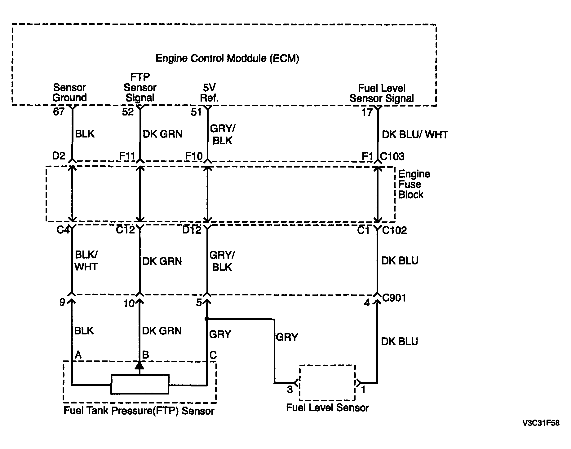
Fig 1: P0462 Fuel Level Sensor Low Input - Circuit Diagram
G04094499Courtesy of SUZUKI OF AMERICA CORP.