LEMON Manuals: Even more car manuals for everyone: 1960-2025
Home >> Suzuki >> 2005 >> Verona EX >> Repair and Diagnosis >> Transmission >> Automatic Transmission >> Diagnostic Information and Procedures >> DTC P0601 Internal Control Module Memory Checksum Error >> Notes
April 5, 2026: LEMON Manuals is launched! Read the announcement.

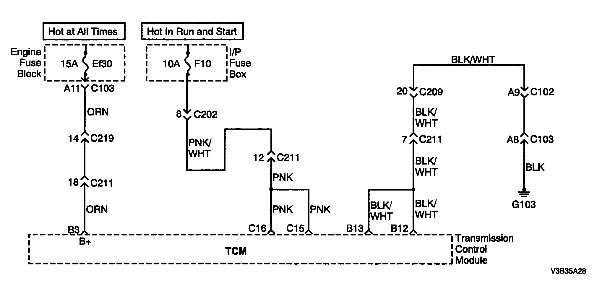
DTC P0601 Internal Control Module Memory Checksum Error: Notes

Fig 1: DTC P0601 Internal Control Module Memory Checksum Error Circuit
G04095356Courtesy of SUZUKI OF AMERICA CORP.