LEMON Manuals: Even more car manuals for everyone: 1960-2025
Home >> Suzuki >> 2005 >> Verona EX >> Repair and Diagnosis >> Transmission >> Automatic Transmission >> Diagnostic Information and Procedures >> DTC P0604 Internal Control Module Random Access Memory (RAM) Error >> Notes
April 5, 2026: LEMON Manuals is launched! Read the announcement.

DTC P0604 Internal Control Module Random Access Memory (RAM) Error: Notes

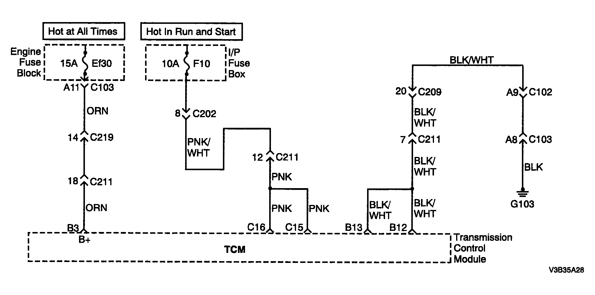
Fig 1: DTC P0604 Internal Control Module Random Access Memory (RAM) Error Circuit
G04095358Courtesy of SUZUKI OF AMERICA CORP.