LEMON Manuals: Even more car manuals for everyone: 1960-2025
Home >> Suzuki >> 2005 >> Verona EX >> Repair and Diagnosis >> Transmission >> Automatic Transmission >> Diagnostic Information and Procedures >> DTC P0606 Transaxle Control Module Processor Fault >> Notes
April 5, 2026: LEMON Manuals is launched! Read the announcement.

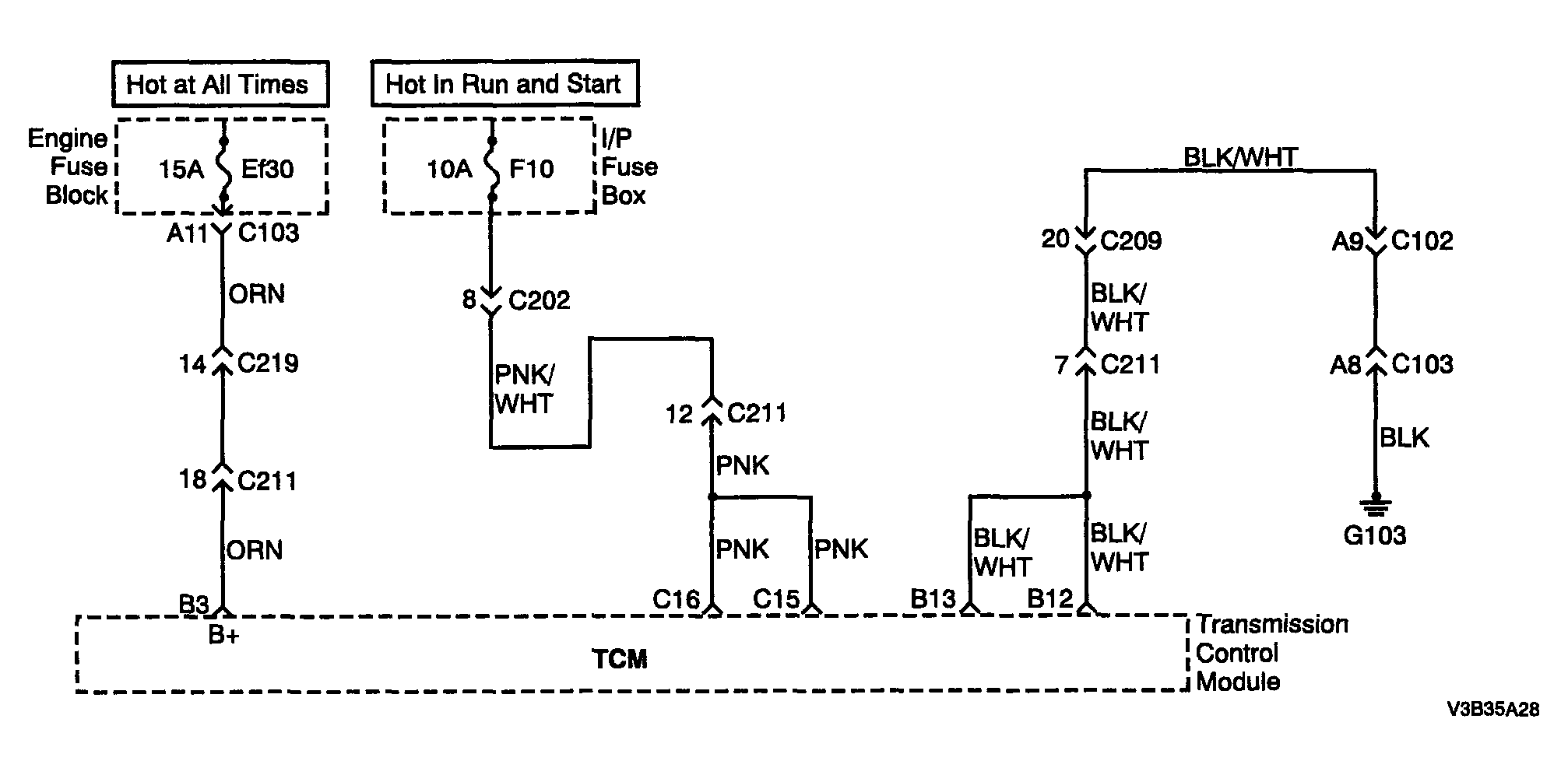
DTC P0606 Transaxle Control Module Processor Fault: Notes

Fig 1: DTC P0606 Transaxle Control Module Processor Fault Circuit
G04095359Courtesy of SUZUKI OF AMERICA CORP.