LEMON Manuals: Even more car manuals for everyone: 1960-2025
Home >> Suzuki >> 2005 >> Verona S >> Repair and Diagnosis >> Engine Performance >> Engine Control Systems >> Engine General Information And Diagnosis >> Diagnostic Information and Procedures >> DTC P0533 A/C Pressure Sensor Circuit High Input >> Notes
April 5, 2026: LEMON Manuals is launched! Read the announcement.

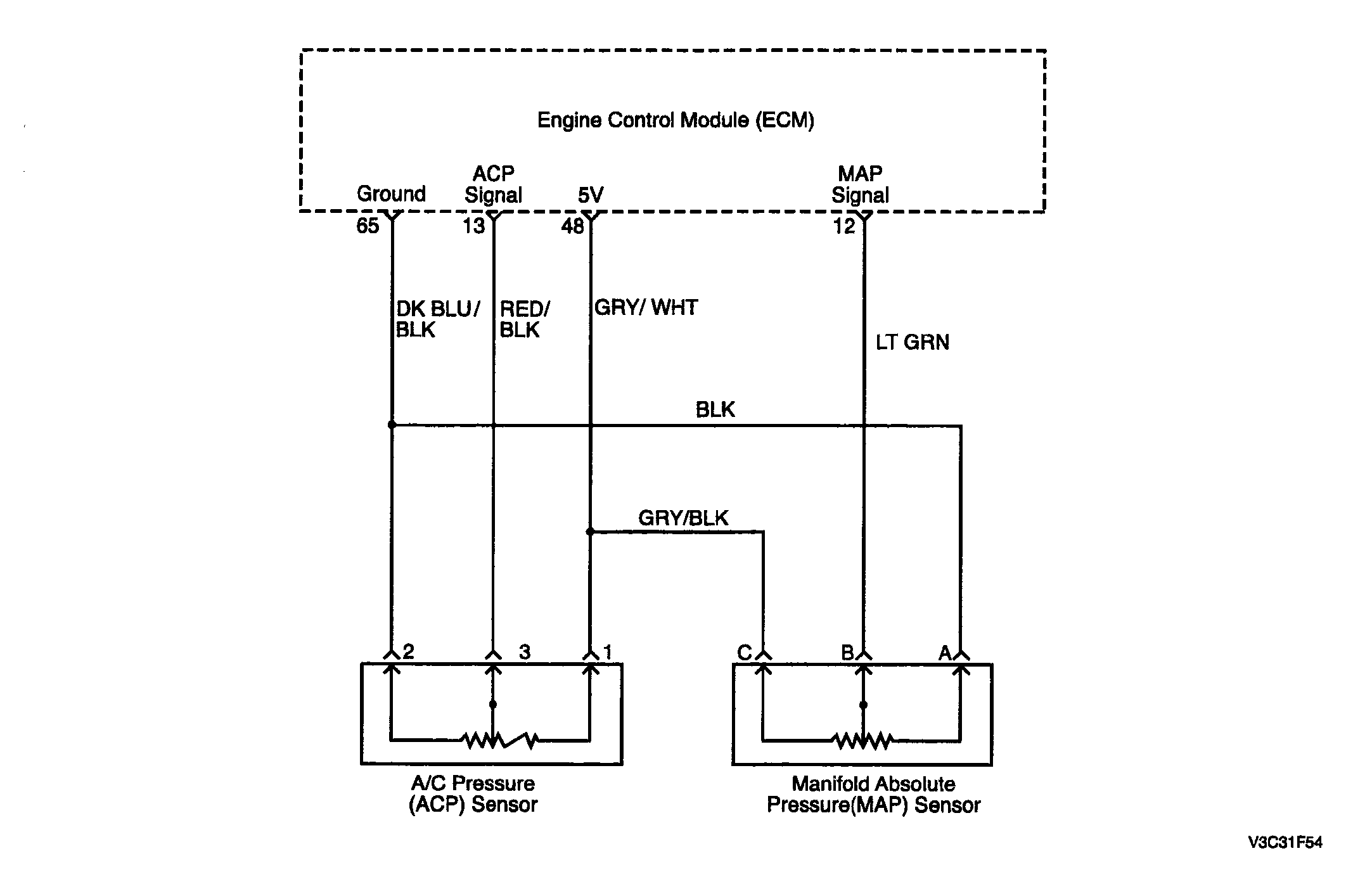
DTC P0533 A/C Pressure Sensor Circuit High Input: Notes

Fig 1: P0533 A/C Pressure Sensor Circuit High Input - Circuit Diagram
G04094506Courtesy of SUZUKI OF AMERICA CORP.