LEMON Manuals: Even more car manuals for everyone: 1960-2025
Home >> Suzuki >> 2005 >> Verona S >> Repair and Diagnosis >> Engine Performance >> Engine Control Systems >> Engine General Information And Diagnosis >> Diagnostic Information and Procedures >> DTC P0647 A/C Compressor Relay High Input >> Notes
April 5, 2026: LEMON Manuals is launched! Read the announcement.

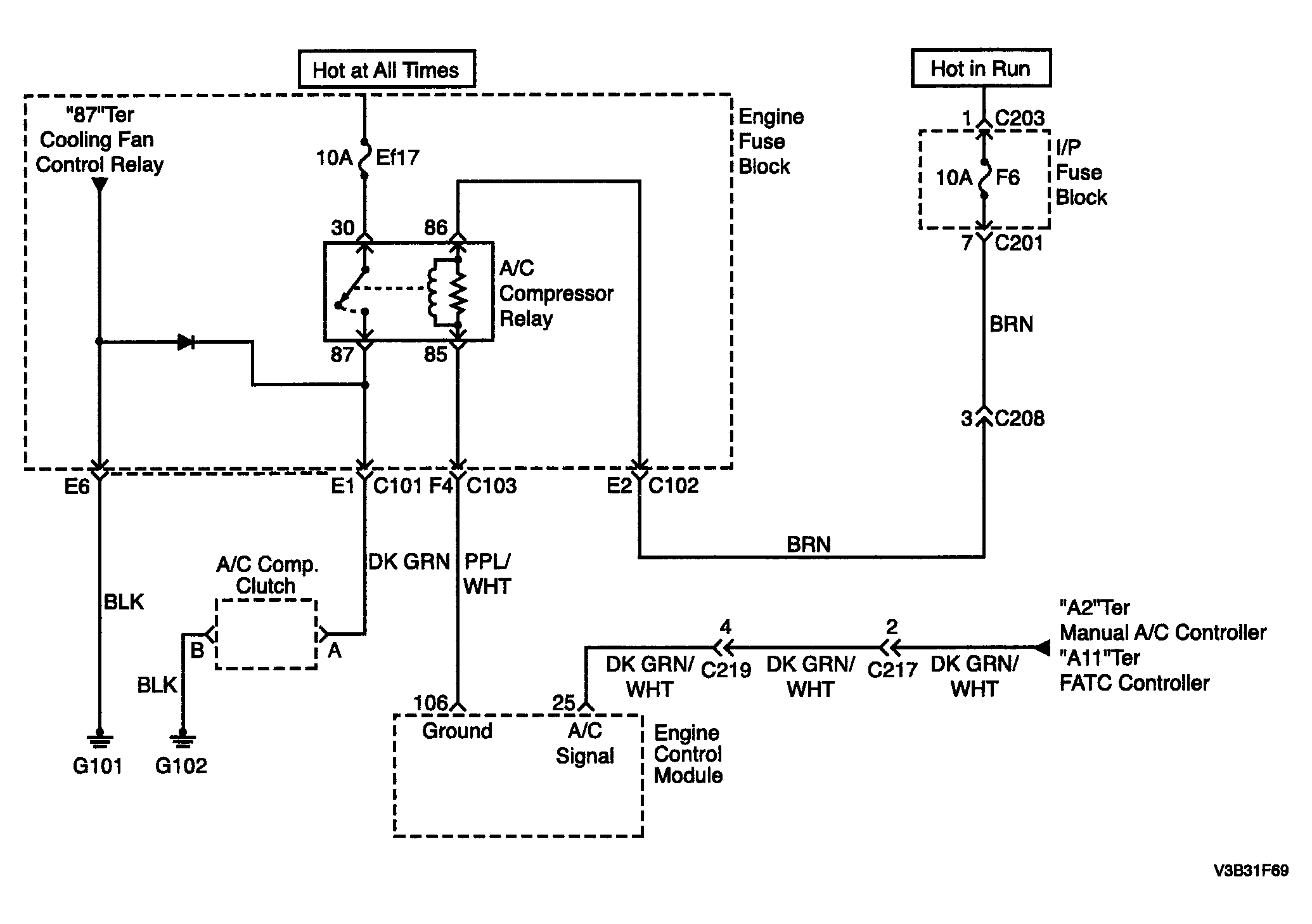
DTC P0647 A/C Compressor Relay High Input: Notes

Fig 1: P0647 A/C Compressor Relay High Input - Circuit Diagram
G04094510Courtesy of SUZUKI OF AMERICA CORP.