LEMON Manuals: Even more car manuals for everyone: 1960-2025
Home >> Suzuki >> 2007 >> XL7 Base, AWD >> Repair and Diagnosis >> Engine Mechanical >> Engine Mechanical >> Repair Instructions >> Thread Repair >> Recessed Thread Repair
April 5, 2026: LEMON Manuals is launched! Read the announcement.

Recessed Thread Repair

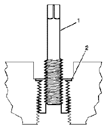
Fig 1: Identifying Insert & Counterbore
G04841985Courtesy of SUZUKI OF AMERICA CORP.
WARNING: Refer to SAFETY GLASSES CAUTION .
NOTE:
  • The use of a cutting type fluid GM P/N 1052864, (Canadian P/N 992881), WD 40® or equivalent is recommended when performing the drilling, counterboring and tapping procedures.
  • Do NOT remove the original stop collar from a counterbore drill.

When installed to the proper depth, the flange of the insert (1) will be seated against the counterbore (2) of the drilled/tapped hole.

Fig 2: Applying Stop Collar On Counterbore Drill
G04841986Courtesy of SUZUKI OF AMERICA CORP.
  1. Install a stop collar (2) on the counterbore drill (1), if required.
    Fig 3: Drilling Out Threads Of Damaged Hole
    G04841987Courtesy of SUZUKI OF AMERICA CORP.
    NOTE:
    • During the drilling process, it is necessary to repeatedly remove the drill and clean chips from the hole and the flutes of the drill.
    • Drill the hole until the stop collar contacts the surface of the base material.
  2. Drill out the threads of the damaged hole.
    Fig 4: Applying Compressed Air Into Tapped Hole
    G04841988Courtesy of SUZUKI OF AMERICA CORP.
    NOTE: All chips must be removed from the drilled hole prior to tapping.
  3. Using compressed air, clean out any chips.
    Fig 5: Drilling Out Threads Of Damaged Hole
    G04841989Courtesy of SUZUKI OF AMERICA CORP.
    NOTE:
    • During the tapping process, it is necessary to repeatedly remove the tap and clean chips from the hole and the flutes of the tap.
    • Ensure the tap has created full threads at least to the depth equal to the insert length.
  4. Using a suitable tapping wrench, tap the threads of the drilled hole by hand only.
    Fig 6: Applying Compressed Air Into Tapped Hole
    G04841990Courtesy of SUZUKI OF AMERICA CORP.
    NOTE: All chips must be removed from the tapped hole prior to insert installation.
  5. Using compressed air, clean out any chips.
    Fig 7: Applying Spray Cleaner Into Tapped Hole
    G04841991Courtesy of SUZUKI OF AMERICA CORP.
  6. Spray cleaner GM P/N 12346139, GM P/N 12377981 (Canadian P/N 10953463) or equivalent into the tapped hole.
    Fig 8: Applying Compressed Air Into Tapped Hole
    G04841992Courtesy of SUZUKI OF AMERICA CORP.
    NOTE: All chips must be removed from the tapped hole prior to insert installation.
  7. Using compressed air, clean out any chips.
    Fig 9: Lubricating Threads Of Driver Installation Tool
    G04841993Courtesy of SUZUKI OF AMERICA CORP.
    NOTE: Do not allow oil or other foreign material to contact the outside diameter (OD) of the insert.
  8. Lubricate the threads of the driver installation tool (2) with the J 42385-110 (1).
    Fig 10: Applying Insert Onto Driver Installation Tool
    G04841994Courtesy of SUZUKI OF AMERICA CORP.
  9. Install the insert (2) onto the driver installation tool (1).
    Fig 11: Applying Threadlock Sealant To Insert OD Threads
    G04841995Courtesy of SUZUKI OF AMERICA CORP.
  10. Apply threadlock sealant GM P/N 12345493, (Canadian P/N 10953488), J 42385-109, LOCTITE 277® or equivalent (1) to the insert OD threads (2).
    Fig 12: Applying Insert Into Tapped Hole (1 Of 2)
    G04841996Courtesy of SUZUKI OF AMERICA CORP.
  11. Install the insert (2) into the tapped hole by hand only.
    Fig 13: Applying Insert Into Tapped Hole (2 Of 2)
    G04841997Courtesy of SUZUKI OF AMERICA CORP.
    NOTE: If the insert will not thread down until the flange contacts the counterbored surface remove the insert immediately with a screw extracting tool and inspect the tapped hole for any remaining chips and/or improper tapping.
  12. Install the insert until the flange (2) of the insert contacts the counterbored surface.
    Fig 14: Applying Insert Into Tapped Hole
    G04841998Courtesy of SUZUKI OF AMERICA CORP.
    NOTE: The driver installation tool will tighten up before screwing completely through the insert. This is acceptable. The threads at the bottom of the insert are being formed and the insert is mechanically locking the insert into the base material threads.
  13. Continue to rotate the driver installation tool (1) through the insert (2).
    Fig 15: Identifying Insert & Proper Installation
    G04841999Courtesy of SUZUKI OF AMERICA CORP.
  14. Inspect the insert (1) for proper installation (2) into the tapped hole.
    Fig 16: Identifying Engine Coolant Passage
    G04842000Courtesy of SUZUKI OF AMERICA CORP.
  15. Any installed insert that restricts or blocks an oil or engine coolant passage (3) will need to have the oil or engine coolant passage drilled out (4) to the original size of the oil or engine coolant passage. After drilling the restriction or blockage, clean out any chips and thread the installation driver tool through the insert again to remove any burrs caused by the drilling of the oil or engine coolant passage.