LEMON Manuals: Even more car manuals for everyone: 1960-2025
Home >> Suzuki >> 2010 >> Equator 2WD V6-4.0L >> Repair and Diagnosis >> Powertrain Management >> Computers and Control Systems >> Relays and Modules - Computers and Control Systems >> Body Control Module >> Diagrams >> Diagram Information and Instructions >> Fuse: Description
April 5, 2026: LEMON Manuals is launched! Read the announcement.

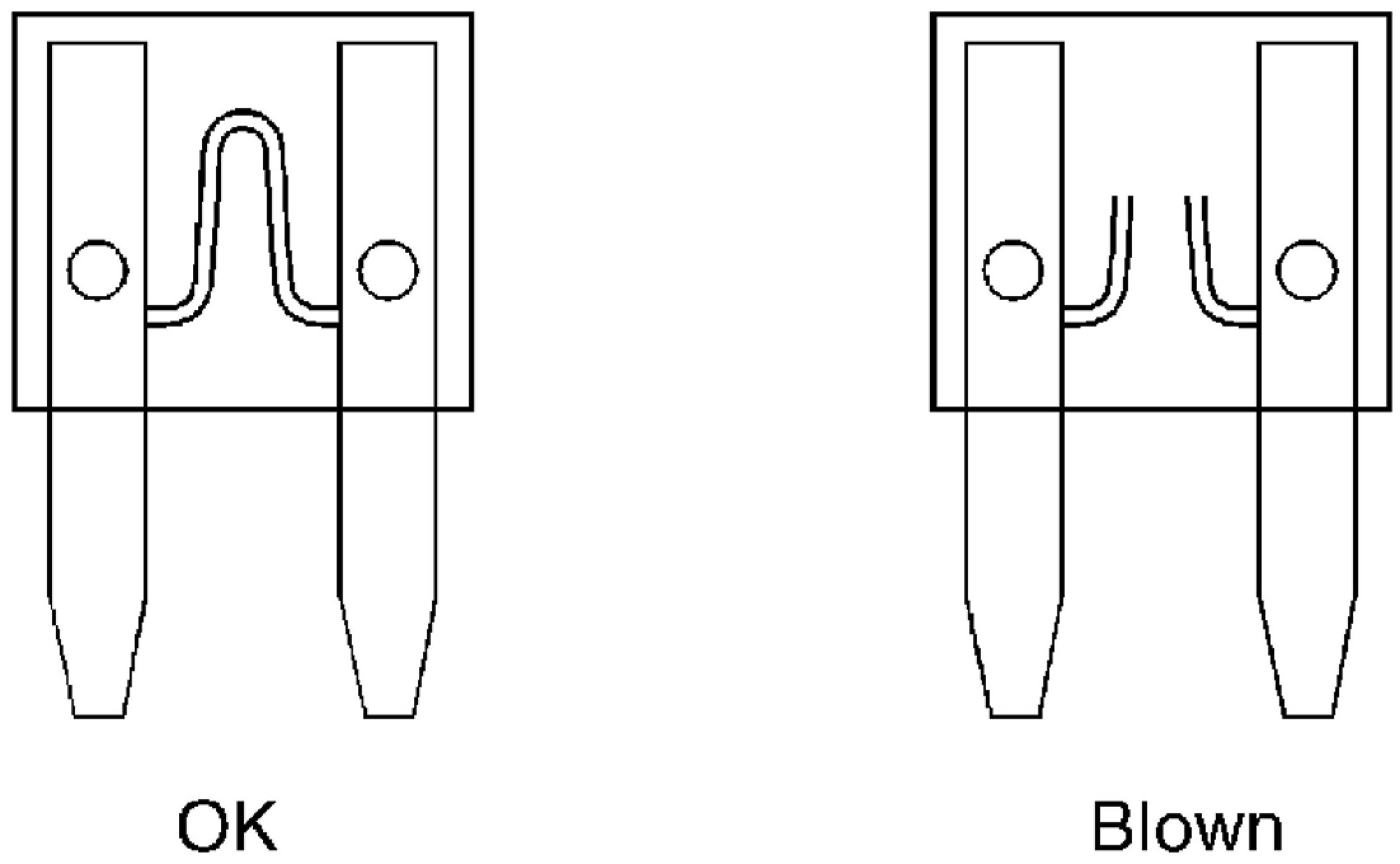
Fuse: Description

Fuse: Description

- If fuse is blown, be sure to eliminate cause of malfunction before installing new fuse.






- Use fuse of specified rating. Never use fuse of more than specified rating.
- Do not partially install fuse; always insert it into fuse holder properly.
- Remove fuse for "ELECTRICAL PARTS (BAT)" if vehicle is not used for a long period of time.